Оригинальные каталоги
| № | Номер | Наименование | Цена | |
|---|---|---|---|---|
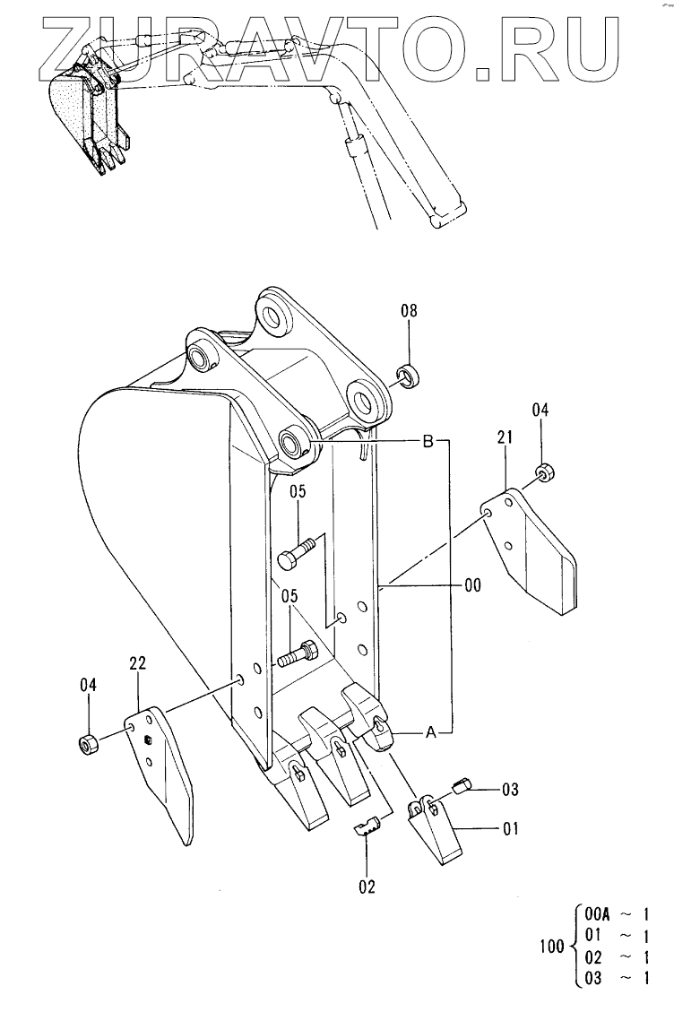
| 9111207 | 9111207 | BUCKET ASS’Y | Нет в продаже |
|
| 9111204 | 9111204 | BUCKET | Нет в продаже |
|
| 00A | 4135495 | ADAPTER, TOOTH | Нет в продаже |
|
| 00B | 4197029 | STOPPER | Нет в продаже |
|
| 1 | 4135496 | POINT, TOOTH | Нет в продаже |
|
| 2 | 4135497 | PIN, LOCK | Нет в продаже |
|
| 3 | 4135498 | RUBBER, LOCK | Нет в продаже |
|
| 4 | J953020 | NUT | Нет в продаже |
|
| 5 | 4152074 | BOLT | Нет в продаже |
|
| 8 | 4239499 | SPACER | Нет в продаже |
|
| 21 | 3053595 | CUTTER, SIDE | Нет в продаже |
|
| 22 | 3053596 | CUTTER, SIDE | Нет в продаже |
|
| 100 | 9054069 | KIT, POINT | Нет в продаже |
|
9111204
00A
00A
00B
1
1
2
2
3
3
4
4
5
5
8
21
22
100
Содержащиеся в справочниках-каталогах запасные части и детали носят исключительно информационный характер