Оригинальные каталоги
| № | Номер | Наименование | Цена | |
|---|---|---|---|---|
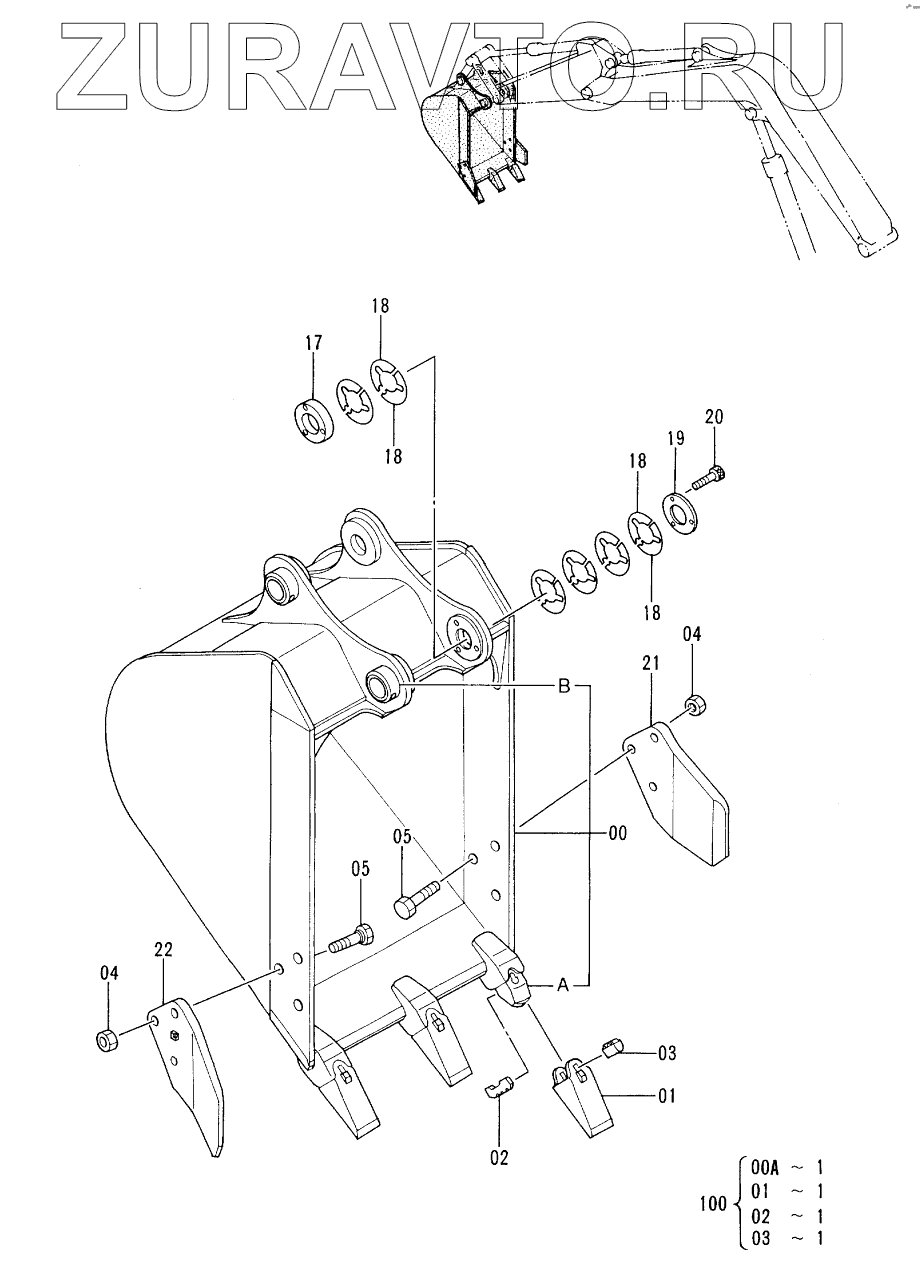
| 9111208 | 9111208 | BUCKET ASS’Y | Нет в продаже |
|
| 9111205 | 9111205 | BUCKET | Нет в продаже |
|
| 00A | 4135495 | ADAPTER, TOOTH | Нет в продаже |
|
| 00B | 4197029 | STOPPER | Нет в продаже |
|
| 1 | 4135496 | POINT, TOOTH | Нет в продаже |
|
| 2 | 4135497 | PIN, LOCK | Нет в продаже |
|
| 3 | 4135498 | RUBBER, LOCK | Нет в продаже |
|
| 4 | J953020 | NUT | Нет в продаже |
|
| 5 | 4152074 | BOLT | Нет в продаже |
|
| 17 | 4278137 | BOSS | Нет в продаже |
|
| 18 | 4278139 | SHIM 1.0 | Нет в продаже |
|
| 19 | 4278138 | PLATE | Нет в продаже |
|
| 20 | M341050 | BOLT, SOCKET | Нет в продаже |
|
| 21 | 3053595 | CUTTER, SIDE | Нет в продаже |
|
| 22 | 3053596 | CUTTER, SIDE | Нет в продаже |
|
| 100 | 9054069 | KIT, POINT | Нет в продаже |
|
9111205
00A
00A
00B
1
1
2
2
3
3
4
4
5
5
17
18
18
18
18
19
20
21
22
100
Содержащиеся в справочниках-каталогах запасные части и детали носят исключительно информационный характер