Оригинальные каталоги
| № | Номер | Наименование | Цена | |
|---|---|---|---|---|
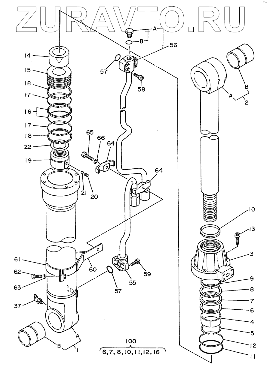
| 4187911 | 4187911 | CYL. BOOM | Нет в продаже |
|
| 4506418 | 4506418 | O-RING | Нет в продаже |
|
| 4174541 | 4174541 | PLUG | Нет в продаже |
|
| 0174403 | 0174403 | BUSHING | Нет в продаже |
|
| 0310702 | 0310702 | ROD PISTON | Нет в продаже |
|
| 0310307 | 0310307 | BUSHING, PIN | Нет в продаже |
|
| 0310801 | 0310801 | TUBE CYL. | Нет в продаже |
|
| 4206458 | 4206458 | CYL. | Нет в продаже |
|
| 1 | 4227360 | TUBE CYL. | Нет в продаже |
|
| 2 | 4227361 | ROD PISTON | Нет в продаже |
|
| 3 | 0310703 | HEAD CYL. | Нет в продаже |
|
| 4 | 0310504 | BUSHING | Нет в продаже |
|
| 5 | 0240904 | RING, RETAINING | Нет в продаже |
|
| 6 | 0240913 | RING | Нет в продаже |
|
| 7 | 0240911 | PACKING, U-RING | Нет в продаже |
|
| 8 | 0240912 | RING, BACK-UP | Нет в продаже |
|
| 9 | 0310505 | RING | Нет в продаже |
|
| 10 | 0240910 | RING, WIPER | Нет в продаже |
|
| 11 | A811100 | O-RING | Нет в продаже |
|
| 12 | 0310506 | RING, BACK-UP | Нет в продаже |
|
| 13 | 0163406 | BOLT, SOCKET | Нет в продаже |
|
| 14 | 0310512 | BRG., CUSHION | Нет в продаже |
|
| 15 | 0310507 | PISTON | Нет в продаже |
|
| 16 | 0310508 | RING, SEAL | Нет в продаже |
|
| 17 | 0310509 | RING | Нет в продаже |
|
| 18 | 0310510 | RING, SLIDE | Нет в продаже |
|
| 19 | 0310511 | NUT | Нет в продаже |
|
| 20 | 0309011 | SCREW, SET | Нет в продаже |
|
| 21 | 0111707 | BALL, STEEL | Нет в продаже |
|
| 22 | 0310514 | SHIM | Нет в продаже |
|
| 37 | J75581 | FITTING, GREASE | Нет в продаже |
|
| 55 | 0310802 | PIPE | Нет в продаже |
|
| 56 | 0310803 | PIPE | Нет в продаже |
|
| 57 | 4509181 | O-RING | Нет в продаже |
|
| 58 | 0310310 | BOLT, SOCKET | Нет в продаже |
|
| 59 | 0309019 | BOLT, SOCKET | Нет в продаже |
|
| 60 | 0310706 | BAND | Нет в продаже |
|
| 61 | 0310707 | BAND | Нет в продаже |
|
| 62 | 178820 | BOLT | Нет в продаже |
|
| 63 | A590910 | WASHER, SPRING | Нет в продаже |
|
| 64 | 0310312 | HOLDER | Нет в продаже |
|
| 65 | 0224115 | BOLT | Нет в продаже |
|
| 66 | 0208516 | WASHER, SPRING | Нет в продаже |
|
| 100 | 4206343 | KIT, SEAL | Нет в продаже |
|
4187911
4506418
4174541
0174403
0310702
0310307
0310801
4206458
1
2
3
4
5
6
6
7
7
8
8
9
10
10
11
11
12
12
13
14
15
16
16
17
17
18
18
19
20
21
22
37
55
56
57
57
58
59
60
61
62
63
64
64
65
66
100
Содержащиеся в справочниках-каталогах запасные части и детали носят исключительно информационный характер