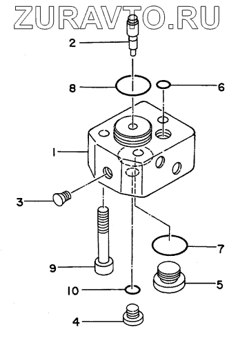
Оригинальные каталоги
| № | Номер | Наименование | Цена | |
|---|---|---|---|---|
| 4217012 | 4217012 | REGULATOR COVER | Нет в продаже |
|
| 1 | COVER | COVER | Нет в продаже |
|
| 2 | PISTON | PISTON | Нет в продаже |
|
| 3 | PLUG | PLUG | Нет в продаже |
|
| 4 | 0215015 | PLUG | Нет в продаже |
|
| 4 | 4255302 | PLUG | Нет в продаже |
|
| 5 | 0215221 | PLUG | Нет в продаже |
|
| 6 | 4506407 | O-RING | Нет в продаже |
|
| 7 | 957366 | O-RING | Нет в продаже |
|
| 8 | 0330501 | O-RING | Нет в продаже |
|
| 9 | 0330502 | BOLT, SOCKET | Нет в продаже |
|
| 10 | 4506408 | O-RING | Нет в продаже |
|
4217012
1
2
3
4
4
5
6
7
8
9
10
Содержащиеся в справочниках-каталогах запасные части и детали носят исключительно информационный характер