Оригинальные каталоги
| № | Номер | Наименование | Цена | |
|---|---|---|---|---|
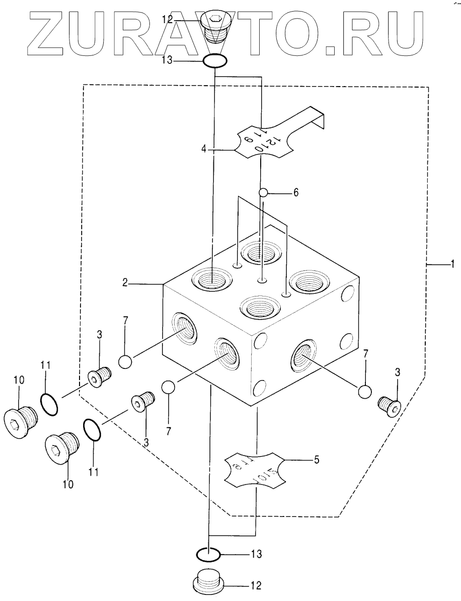
| 4470134 | 4470134 | VALVE, SHUTTLE | Нет в продаже |
|
| 1 | 0408601 | BODY ASSY | Нет в продаже |
|
| 2 | BODY | BODY | Нет в продаже |
|
| 3 | SEAT | SEAT | Нет в продаже |
|
| 4 | SEAL | SEAL | Нет в продаже |
|
| 5 | SEAL | SEAL | Нет в продаже |
|
| 6 | BALL | BALL | Нет в продаже |
|
| 7 | BALL | BALL | Нет в продаже |
|
| 10 | 0314205 | PLUG | Нет в продаже |
|
| 11 | 957366 | O-RING | Нет в продаже |
|
| 12 | 0309805 | PLUG | Нет в продаже |
|
| 13 | 4509180 | O-RING | Нет в продаже |
|
4470134
1
2
3
3
3
4
5
6
7
7
7
10
10
11
11
12
12
13
13
Содержащиеся в справочниках-каталогах запасные части и детали носят исключительно информационный характер