Оригинальные каталоги
| № | Номер | Наименование | Цена | |
|---|---|---|---|---|
| 9167777 | 9167777 | VALVE | Нет в продаже |
|
| 4506418 | 4506418 | O-RING | Нет в продаже |
|
| 957366 | 957366 | O-RING | Нет в продаже |
|
| 4506408 | 4506408 | O-RING | Нет в продаже |
|
| 957366 | 957366 | O-RING | Нет в продаже |
|
| SPOOL | SPOOL | SPOOL | Нет в продаже |
|
| SPOOL | SPOOL | SPOOL | Нет в продаже |
|
| 9195450 | 9195450 | VALVE | Нет в продаже |
|
| CASING | CASING | CASING | Нет в продаже |
|
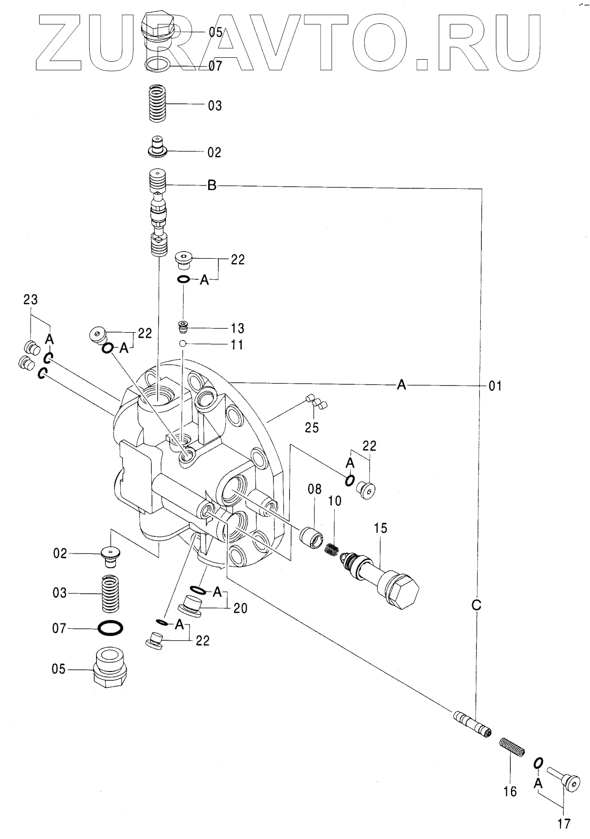
| 1 | 8071211 | CASING ASSY | Нет в продаже |
|
| 2 | 4397021 | STOPPER | Нет в продаже |
|
| 3 | 4409389 | SPRING | Нет в продаже |
|
| 5 | 4229631 | PLUG | Нет в продаже |
|
| 7 | 4506429 | O-RING | Нет в продаже |
|
| 8 | 4397022 | POPPET | Нет в продаже |
|
| 10 | 4396771 | SPRING | Нет в продаже |
|
| 11 | 4509493 | BALL | Нет в продаже |
|
| 13 | 4398281 | SEAT | Нет в продаже |
|
| 15 | 9185757 | VALVE | Нет в продаже |
|
| 16 | 4297257 | SPRING, COMPRES. | Нет в продаже |
|
| 17 | 9167977 | PLUG | Нет в продаже |
|
| 20 | 9134112 | PLUG | Нет в продаже |
|
| 22 | 9134110 | PLUG | Нет в продаже |
|
| 23 | 9134109 | PLUG | Нет в продаже |
|
| 25 | 4050968 | PLUG | Нет в продаже |
|
9167777
4506418
957366
957366
957366
957366
4506408
957366
SPOOL
SPOOL
9195450
CASING
1
2
2
3
3
5
5
7
7
8
10
11
13
15
16
17
20
22
22
22
22
23
25
Содержащиеся в справочниках-каталогах запасные части и детали носят исключительно информационный характер