Оригинальные каталоги
| № | Номер | Наименование | Цена | |
|---|---|---|---|---|
| 9213241 | 9213241 | VALVE, BRAKE | Нет в продаже |
|
| 4506408 | 4506408 | O-RING | Нет в продаже |
|
| 957366 | 957366 | O-RING | Нет в продаже |
|
| 957366 | 957366 | O-RING | Нет в продаже |
|
| SPOOL | SPOOL | SPOOL | Нет в продаже |
|
| SPOOL | SPOOL | SPOOL | Нет в продаже |
|
| CASINGREAR | CASINGREAR | CASING, REAR | Нет в продаже |
|
| 9229962 | 9229962 | VALVE, BRAKE | Нет в продаже |
|
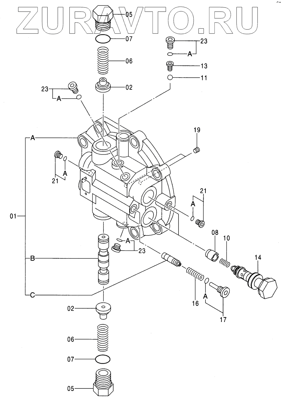
| 1 | 8087943 | CASING ASSY | Нет в продаже |
|
| 2 | 4461905 | STOPPER | Нет в продаже |
|
| 5 | 4276526 | PLUG | Нет в продаже |
|
| 6 | 4485473 | SPRING, COMPRES. | Нет в продаже |
|
| 7 | 4506429 | O-RING | Нет в продаже |
|
| 8 | 4470238 | POPPET | Нет в продаже |
|
| 10 | 4396771 | SPRING | Нет в продаже |
|
| 11 | 4509493 | BALL | Нет в продаже |
|
| 13 | 4311662 | SEAT | Нет в продаже |
|
| 14 | 9213855 | VALVE, RELIEF | Нет в продаже |
|
| 16 | 4297257 | SPRING, COMPRES. | Нет в продаже |
|
| 17 | 9167977 | PLUG | Нет в продаже |
|
| 19 | 4050968 | PLUG | Нет в продаже |
|
| 21 | 9089484 | PLUG | Нет в продаже |
|
| 23 | 9089485 | PLUG | Нет в продаже |
|
9213241
4506408
4506408
957366
957366
957366
SPOOL
SPOOL
CASINGREAR
9229962
1
2
2
5
5
6
6
7
7
8
10
11
13
14
16
17
19
21
21
23
23
23
Содержащиеся в справочниках-каталогах запасные части и детали носят исключительно информационный характер