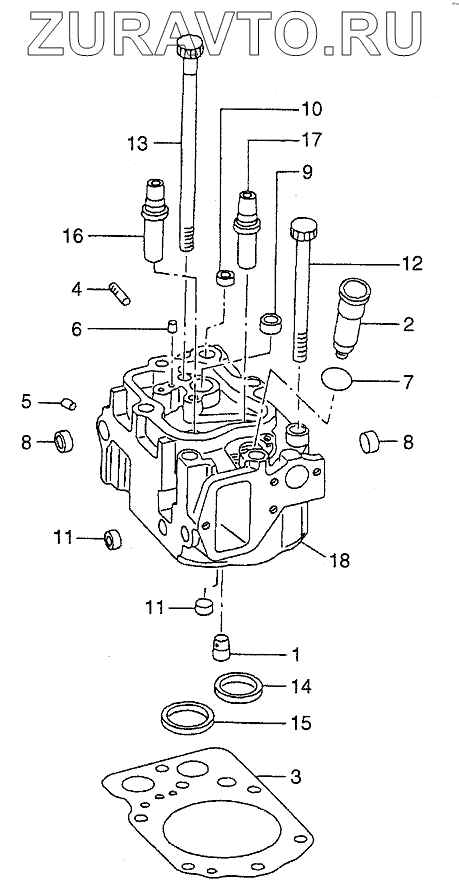
Оригинальные каталоги
| № | Номер | Наименование | Цена | |
|---|---|---|---|---|
| 1 | НМЕ062523 | DIRECTOR | Нет в продаже |
|
| 2 | Н3090113709 | TUBE | Нет в продаже |
|
| 3 | НМЕ051714 | GASKET | Нет в продаже |
|
| 4 | НМН002131 | STUD | Нет в продаже |
|
| 5 | НМН037762 | PLUG | Нет в продаже |
|
| 6 | HMF472585 | PIN, SPRING | Нет в продаже |
|
| 7 | НМН035157 | O-RING | Нет в продаже |
|
| 8 | HMS666137 | CAP | Нет в продаже |
|
| 9 | HMS666136 | CAP | Нет в продаже |
|
| 10 | HMS666134 | CAP | Нет в продаже |
|
| 11 | HMS666135 | CAP | Нет в продаже |
|
| 12 | НМЕ051515 | BOLT | Нет в продаже |
|
| 13 | НМЕ051516 | BOLT | Нет в продаже |
|
| 14 | НМЕ051354 | SEAT, EXHAUST VALVE | Нет в продаже |
|
| 15 | НМЕ051587 | SEAT, INLET VALVE | Нет в продаже |
|
| 16 | НМЕ051120 | GUIDE, INLET VALVE | Нет в продаже |
|
| 17 | НМЕ051122 | GUIDE, EXHAUST VALVE | Нет в продаже |
|
| 18 | CYLINDER,HEAD | CYLINDER HEAD | Нет в продаже |
|
1
2
3
4
5
6
7
8
8
9
10
11
11
12
13
14
15
16
17
18
Содержащиеся в справочниках-каталогах запасные части и детали носят исключительно информационный характер