Назад

Оригинальные каталоги

zoom-in zoom-out enlarge shrink circle-right circle-left file-text2 info cart
Номер Наименование Цена
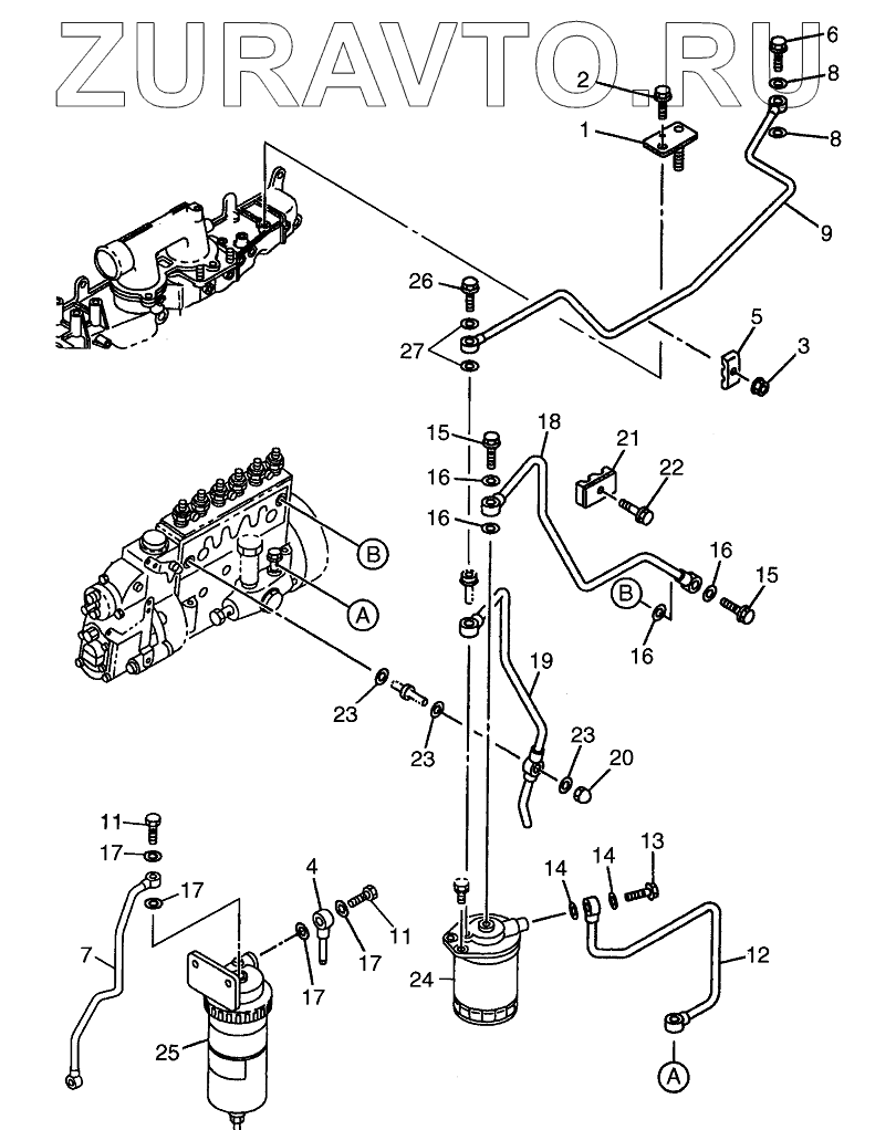
1 1-15419-583-0 BRACKET Нет в продаже
2 0-2808-0816-0 BOLT Нет в продаже
3 0-9115-0106-0 NUT Нет в продаже
3 0-9115-0106-0 NUT Нет в продаже
4 5-15411-223-1 PIPE Нет в продаже
5 1-09701-132-0 CLIP Нет в продаже
5 1-09701-132-0 CLIP Нет в продаже
6 8-94396-711-0 BOLT Нет в продаже
7 1-15416-680-0 PIPE Нет в продаже
8 1-09630-083-0 GASKET Нет в продаже
9 1-15416-525-0 PIPE Нет в продаже
10 0-9115-0110-0 NUT Нет в продаже
11 1-09675-086-0 BOLT, JOINT Нет в продаже
12 1-15416-523-0 PIPE Нет в продаже
13 1-09675-086-0 BOLT, JOINT Нет в продаже
14 1-09630-085-0 GASKET Нет в продаже
15 1-09675-086-0 BOLT, JOINT Нет в продаже
16 1-09630-085-0 GASKET Нет в продаже
17 1-09630-085-0 GASKET Нет в продаже
18 1-15416-524-0 PIPE Нет в продаже
19 1-15416-526-0 PIPE Нет в продаже
20 1-09468-002-1 NUT Нет в продаже
21 5-09709-103-0 CLIP Нет в продаже
22 0-5004-0630-0 BOLT Нет в продаже
23 1-09630-085-0 GASKET Нет в продаже
24 1-13200-666-2 FUEL FILTER Нет в продаже
25 1-13200-960-0 FUEL SEDIMENTER ASSY Нет в продаже
26 1-09675-037-1 BOLT Нет в продаже
27 1-09630-082-0 GASKET Нет в продаже
1
2
3
3
4
5
5
6
7
8
8
9
11
11
12
13
14
14
15
15
16
16
16
16
17
17
17
17
18
19
20
21
22
23
23
23
24
25
26
27
100%
Содержащиеся в справочниках-каталогах запасные части и детали носят исключительно информационный характер