Оригинальные каталоги
| № | Номер | Наименование | Цена | |
|---|---|---|---|---|
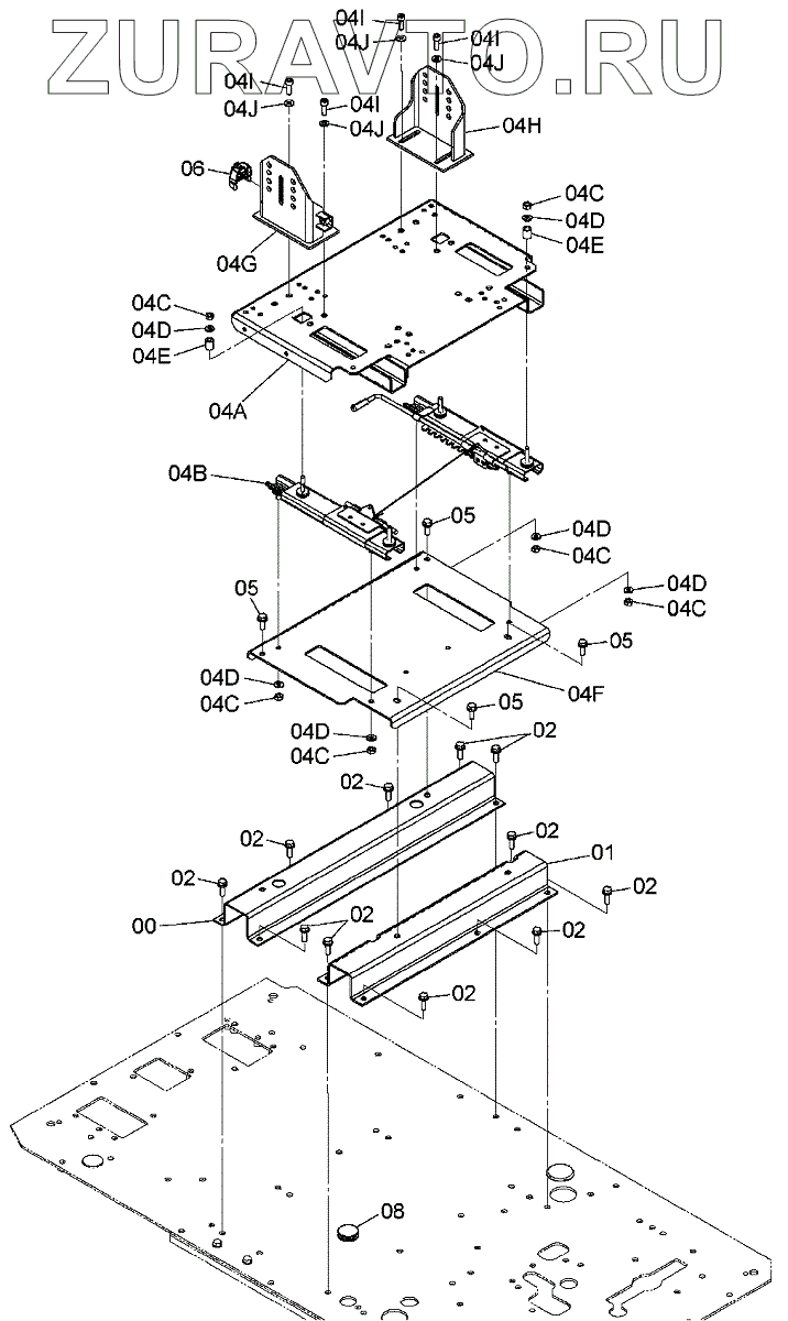
| 00 | 7057119 | STAND | Нет в продаже |
|
| 01 | 7057120 | STAND | Нет в продаже |
|
| 02 | J271035 | BOLT, SEMS | Нет в продаже |
|
| 02A | J901035 | BOLT | Нет в продаже |
|
| 02B | J222010 | WASHER | Нет в продаже |
|
| 04 | 9307430 | CARRIER | Нет в продаже |
|
| 04A | 6027603 | CARRIER | Нет в продаже |
|
| 04B | 4706817 | SLIDER | Нет в продаже |
|
| 04C | J952010 | NUT | Нет в продаже |
|
| 04D | J222010 | WASHER | Нет в продаже |
|
| 04E | 4702991 | SPACER | Нет в продаже |
|
| 04F | 8118287 | PLATE | Нет в продаже |
|
| 04G | 7057117 | STAND | Нет в продаже |
|
| 04H | 7057118 | STAND | Нет в продаже |
|
| 04I | J781030 | BOLT, SOCKET | Нет в продаже |
|
| 04J | J222010 | WASHER | Нет в продаже |
|
| 05 | J271030 | BOLT, SEMS | Нет в продаже |
|
| 05A | J901030 | BOLT | Нет в продаже |
|
| 05B | J222010 | WASHER | Нет в продаже |
|
| 06 | YA00005172 | COVER | Нет в продаже |
|
| 08 | 4288445 | BUSHING | Нет в продаже |
|
00
01
02
02
02
02
02
02
02
02
02
04A
04B
04C
04C
04C
04C
04C
04C
04D
04D
04D
04D
04D
04D
04E
04E
04F
04G
04H
04I
04I
04I
04I
04J
04J
04J
04J
05
05
05
05
06
08
Содержащиеся в справочниках-каталогах запасные части и детали носят исключительно информационный характер