Оригинальные каталоги
| № | Номер | Наименование | Цена | |
|---|---|---|---|---|
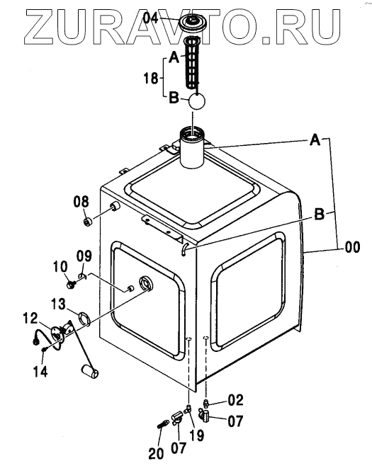
| 00 | 6018580 | TANK, FUEL | Нет в продаже |
|
| 00A | 4121497 | TUBE | Нет в продаже |
|
| 00B | 4249777 | PIPE | Нет в продаже |
|
| 02 | J70782 | ADAPTER | Нет в продаже |
|
| 04 | 4361638 | CAP | Нет в продаже |
|
| 07 | 4374265 | VALVE, BALL | Нет в продаже |
|
| 08 | 94-2013 | PLUG | Нет в продаже |
|
| 09 | 4257159 | BRACKET | Нет в продаже |
|
| 10 | J011016 | BOLT, SEMS | Нет в продаже |
|
| 10 | J271016 | BOLT, SEMS | Нет в продаже |
|
| 12 | 4257128 | FLOAT | Нет в продаже |
|
| 13 | 4269607 | PACKING | Нет в продаже |
|
| 14 | J450510 | SCREW, SEMS | Нет в продаже |
|
| 18 | 4353560 | STRAINER | Нет в продаже |
|
| 18A | 4372619 | STRAINER | Нет в продаже |
|
| 18B | 4372620 | FLOAT | Нет в продаже |
|
| 19 | 4449361 | ELBOW | Нет в продаже |
|
| 20 | 4449362 | ADAPTER | Нет в продаже |
|
00
00A
00B
02
04
07
07
08
09
10
10
12
13
14
18
18A
18B
19
20
Содержащиеся в справочниках-каталогах запасные части и детали носят исключительно информационный характер