Оригинальные каталоги
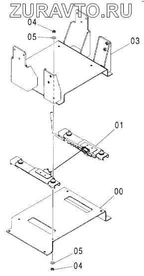
| № | Номер | Наименование | Цена | |
|---|---|---|---|---|
| 3089486 | 3089486 | STAND | Нет в продаже |
|
| 1 | 4405128 | SLIDER | Нет в продаже |
|
| 3 | 6021130 | CARRIER | Нет в продаже |
|
| 4 | J952010 | NUT | Нет в продаже |
|
| 5 | А590910 | WASHER, SPRING | Нет в продаже |
|
3089486
1
3
4
4
5
5
Содержащиеся в справочниках-каталогах запасные части и детали носят исключительно информационный характер