Оригинальные каталоги
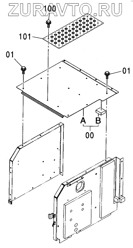
| № | Номер | Наименование | Цена | |
|---|---|---|---|---|
| 00 | 7041409 | COVER ASSY | Нет в продаже |
|
| 00A | 7038367 | COVER | Нет в продаже |
|
| 00B | 4463576 | RUBBER | Нет в продаже |
|
| 01 | J021030 | BOLT, SEMS | Нет в продаже |
|
| 01 | J271030 | BOLT, SEMS | Нет в продаже |
|
| 100 | J021030 | BOLT, SEMS | Нет в продаже |
|
| 100 | J271030 | BOLT, SEMS | Нет в продаже |
|
| 101 | 3091338 | COVER | Нет в продаже |
|
00
00A
00B
01
01
01
01
100
100
101
Содержащиеся в справочниках-каталогах запасные части и детали носят исключительно информационный характер