Оригинальные каталоги
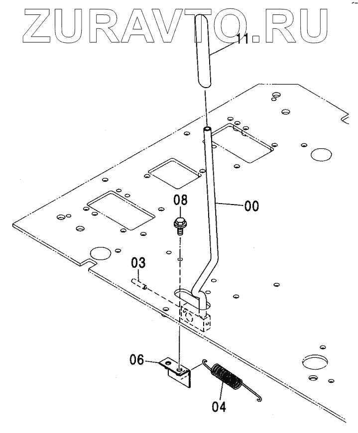
| № | Номер | Наименование | Цена | |
|---|---|---|---|---|
| 7035503 | 7035503 | LEVER, LOCK | Нет в продаже |
|
| 3 | 4116310 | PIN, SPRING | Нет в продаже |
|
| 4 | 4189184 | SPRING, TENS ION | Нет в продаже |
|
| 6 | 8073901 | BRACKET | Нет в продаже |
|
| 8 | J021030 | BOLT, SEMS | Нет в продаже |
|
| 8 | J271030 | BOLT, SEMS | Нет в продаже |
|
| 11 | 3089848 | GRIP, LOCK | Нет в продаже |
|
7035503
3
4
6
8
8
11
Содержащиеся в справочниках-каталогах запасные части и детали носят исключительно информационный характер