Оригинальные каталоги
| № | Номер | Наименование | Цена | |
|---|---|---|---|---|
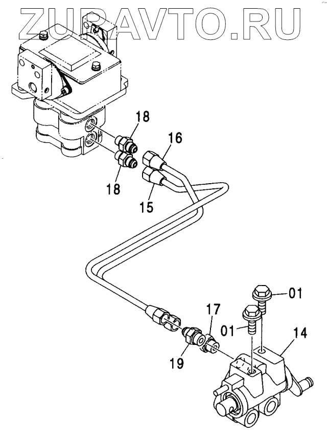
| 01 | J021025 | BOLT, SEMS | Нет в продаже |
|
| 01 | J271025 | BOLT, SEMS | Нет в продаже |
|
| 14 | 4407253 | VALVE, LOCK | Нет в продаже |
|
| 15 | 4452052 | PIPE | Нет в продаже |
|
| 16 | 4452053 | PIPE | Нет в продаже |
|
| 17 | 4255305 | FITTING, PIPE | Нет в продаже |
|
| 17A | 4509180 | O-RING | Нет в продаже |
|
| 18 | 4255304 | FITTING, PIPE | Нет в продаже |
|
| 18A | 957366 | O-RING | Нет в продаже |
|
| 19 | 4452326 | FILTER | Нет в продаже |
|
| 19A | 4509180 | O-RING | Нет в продаже |
|
01
01
01
01
14
15
16
17
17A
18
18
18A
18A
19
19A
Содержащиеся в справочниках-каталогах запасные части и детали носят исключительно информационный характер