Назад

Оригинальные каталоги

zoom-in zoom-out enlarge shrink circle-right circle-left file-text2 info cart
Номер Наименование Цена
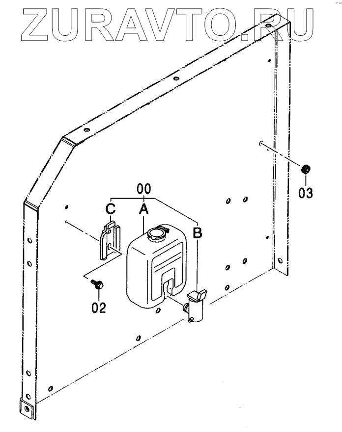
00 4333185 WINDOW-WASHER Нет в продаже
00A 4369472 TANK Нет в продаже
00B 4326095 MOTOR Нет в продаже
00C 4338974 BRACKET Нет в продаже
02 J020616 BOLT, SEMS Нет в продаже
02 J260616 BOLT, SEMS Нет в продаже
03 94-2817 BUSHING, RUBBER Нет в продаже
00
00A
00B
00C
02
02
03
100%
Содержащиеся в справочниках-каталогах запасные части и детали носят исключительно информационный характер