Оригинальные каталоги
| № | Номер | Наименование | Цена | |
|---|---|---|---|---|
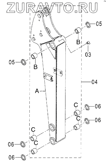
| 03 | EJ75481 | FITTING, GREASE | Нет в продаже |
|
| 04 | Е8092498 | ARM, SHORT | Нет в продаже |
|
| 04A | Е6020833 | ARM | Нет в продаже |
|
| 04В | 4340371 | BUSHING | Нет в продаже |
|
| 04С | 4338534 | BUSHING | Нет в продаже |
|
| 05 | 4279530 | SEAL, DUST | Нет в продаже |
|
| 06 | 4275478 | SEAL, DUST | Нет в продаже |
|
03
04
04A
04В
04С
04С
04С
04С
05
05
06
06
06
06
Содержащиеся в справочниках-каталогах запасные части и детали носят исключительно информационный характер