Оригинальные каталоги
| № | Номер | Наименование | Цена | |
|---|---|---|---|---|
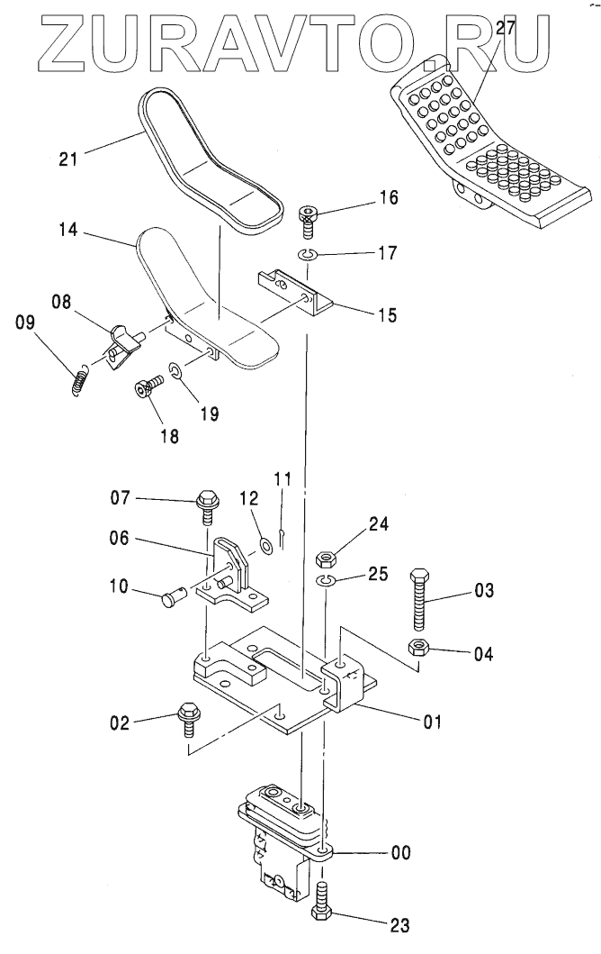
| 9219244 | 9219244 | VALVE, РILOT | Нет в продаже |
|
| 1 | 8093844 | BRACKET | Нет в продаже |
|
| 2 | J011030 | BOLT, SEMS | Нет в продаже |
|
| 3 | 4317640 | BOLT | Нет в продаже |
|
| 4 | М500807 | NUT | Нет в продаже |
|
| 6 | 8093845 | BRACKET | Нет в продаже |
|
| 7 | J011020 | BOLT, SEMS | Нет в продаже |
|
| 8 | 8084659 | STOPPER | Нет в продаже |
|
| 9 | 4279604 | SPRING | Нет в продаже |
|
| 10 | 4287795 | PIN | Нет в продаже |
|
| 11 | А763016 | PIN, SPLIT | Нет в продаже |
|
| 12 | А590110 | WASHER, PLANE | Нет в продаже |
|
| 14 | 8090119 | PEDAL | Нет в продаже |
|
| 15 | 9759828 | BRACKET | Нет в продаже |
|
| 16 | J780816 | BOLT, SOCKET | Нет в продаже |
|
| 17 | А590908 | WASHER, SPRING | Нет в продаже |
|
| 18 | J780820 | BOLT, SOCKET | Нет в продаже |
|
| 19 | А590908 | WASHER, SPRING | Нет в продаже |
|
| 21 | 4283758 | COVER | Нет в продаже |
|
| 23 | J901030 | BOLT | Нет в продаже |
|
| 24 | J950010 | NUT | Нет в продаже |
|
| 25 | А590910 | WASHER, SPRING | Нет в продаже |
|
| 27 | 3079715 | PEDAL | Нет в продаже |
|
9219244
1
2
3
4
6
7
8
9
10
11
12
14
15
16
17
18
19
21
23
24
25
27
Содержащиеся в справочниках-каталогах запасные части и детали носят исключительно информационный характер