Оригинальные каталоги
| № | Номер | Наименование | Цена | |
|---|---|---|---|---|
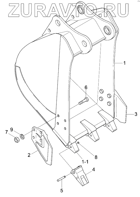
| 66N4-32000GG | 66N4-32000GG | Bucket Assy | Нет в продаже |
|
| 1 | 66N4-32010GG | Bucket Wa | Нет в продаже |
|
| 1-1 | 61N4-31200 | Adapter-Tooth | Нет в продаже |
|
| 2 | 61E3-3033GG | Side Cutter-Lh | Нет в продаже |
|
| 3 | 61E3-3034GG | Side Cutter-Rh | Нет в продаже |
|
| 4 | 61N4-31210GG | Point-Tooth | Нет в продаже |
|
| 5 | 66N4-30350 | Pin-Tooth | Нет в продаже |
|
| 6 | S017-20055D | Bolt-Hex | Нет в продаже |
|
| 7 | S205-20100B | NUT-HEX | Нет в продаже |
|
| 8 | 61E5-11150 | WASHER-LOCK | Нет в продаже |
|
| 9 | S411-200006 | Washer-Spring | Нет в продаже |
|
66N4-32000GG
1
1-1
2
3
4
5
6
7
8
9
Содержащиеся в справочниках-каталогах запасные части и детали носят исключительно информационный характер