Назад

Оригинальные каталоги

zoom-in zoom-out enlarge shrink circle-right circle-left file-text2 info cart
Номер Наименование Цена
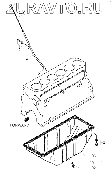
1 32B13-00010 OIL PAN ASSY Нет в продаже
2 F1805-08016 BOLT-W/WASHER Нет в продаже
3 32B42-02500 GAGE-OIL LEVEL Нет в продаже
4 32B42-10700 GUIDE-OIL LEVEL GAGE Нет в продаже
5 05507-10110 O-RING Нет в продаже
101 F4202-20000 GASKET Нет в продаже
102 32B13-00200 PLUG-DRAIN Нет в продаже
103 OilPan Oil Pan Нет в продаже
1
2
2
3
4
5
101
102
103
100%
Содержащиеся в справочниках-каталогах запасные части и детали носят исключительно информационный характер