Оригинальные каталоги
| № | Номер | Наименование | Цена | |
|---|---|---|---|---|
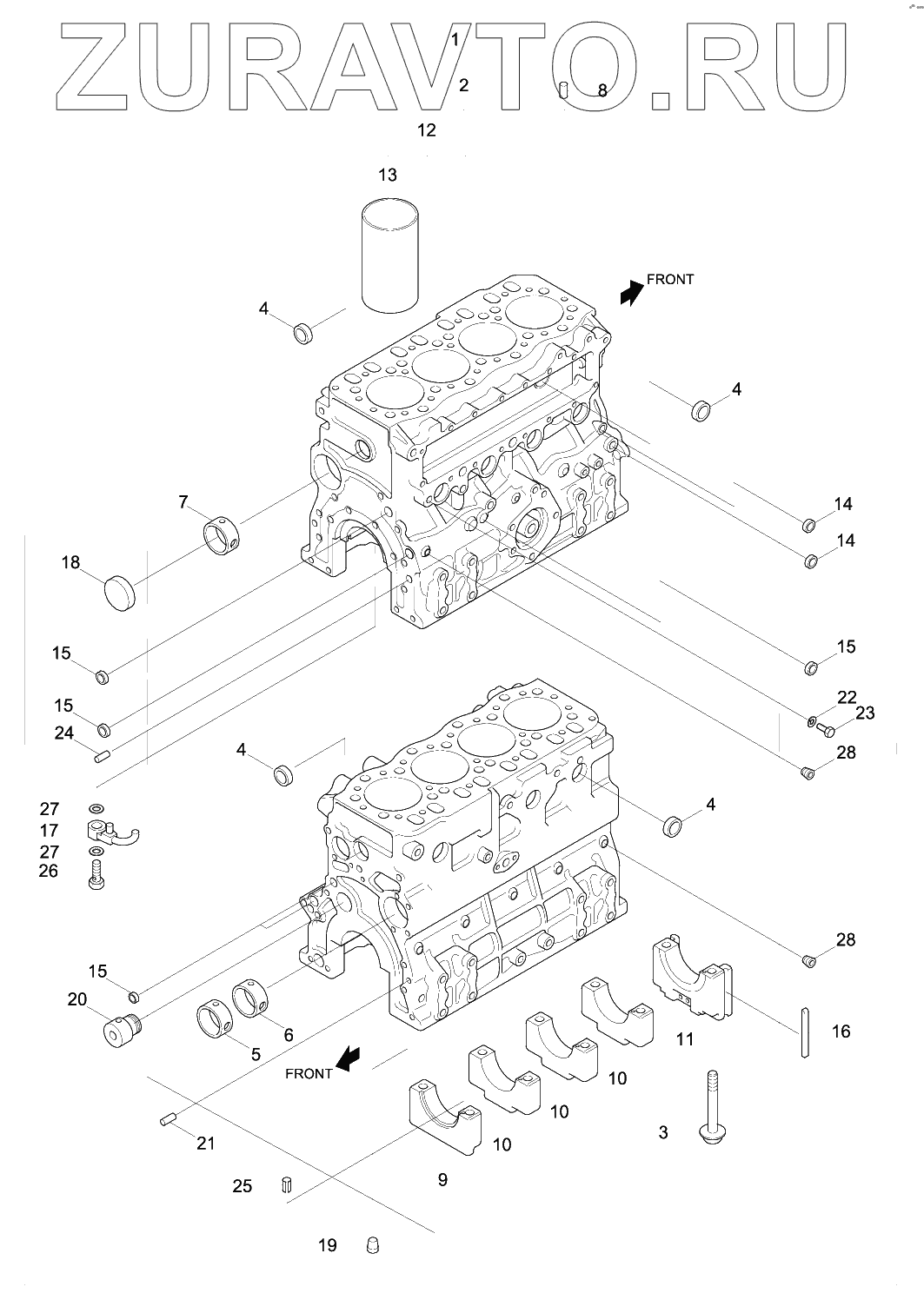
| 1 | XJAF-02578 | Crankcase Assy | Нет в продаже |
|
| 2 | CrankcaseSubAssy | Crankcase Sub Assy | Нет в продаже |
|
| 3 | XJAF-02285 | Bolt-Bearing Cap | Нет в продаже |
|
| 4 | XJAF-00190 | Cap-Sealing | Нет в продаже |
|
| 5 | XJAF-00192 | Bushing-Camshaft | Нет в продаже |
|
| 6 | XJAF-00194 | Bushing-Camshaft | Нет в продаже |
|
| 7 | XJAF-00195 | Bushing-Camshaft | Нет в продаже |
|
| 8 | XJAF-02246 | Pin-Dowel | Нет в продаже |
|
| 13 | XJAF-00193 | Sleeve-Cylinder | Нет в продаже |
|
| 14 | XJAF-00188 | Cap-Sealing | Нет в продаже |
|
| 15 | XJAF-00189 | Cap-Sealing | Нет в продаже |
|
| 16 | XJAF-02289 | Seal-Side | Нет в продаже |
|
| 17 | XJAF-02290 | Jet Assy-Oil | Нет в продаже |
|
| 18 | XJAF-00198 | Plug-Cam | Нет в продаже |
|
| 20 | XJAF-02291 | Shaft-Idler | Нет в продаже |
|
| 21 | XJAF-00203 | Pin-Dowel | Нет в продаже |
|
| 22 | XJAF-00206 | Washer-Sealing | Нет в продаже |
|
| 23 | XJAF-00205 | Bolt | Нет в продаже |
|
| 24 | XJAF-00202 | Pin-Dowel | Нет в продаже |
|
| 25 | XJAF-00609 | Pin-Spring | Нет в продаже |
|
| 26 | XJAF-02510 | Valve Assy-Check | Нет в продаже |
|
| 27 | XJAF-02293 | Gasket | Нет в продаже |
|
| 28 | XJAF-00201 | Plug-Tapered | Нет в продаже |
|
1
2
3
4
4
4
4
5
6
7
8
13
14
14
15
15
15
15
16
17
18
20
21
22
23
24
25
26
27
27
28
28
Содержащиеся в справочниках-каталогах запасные части и детали носят исключительно информационный характер