Назад

Оригинальные каталоги

zoom-in zoom-out enlarge shrink circle-right circle-left file-text2 info cart
Номер Наименование Цена
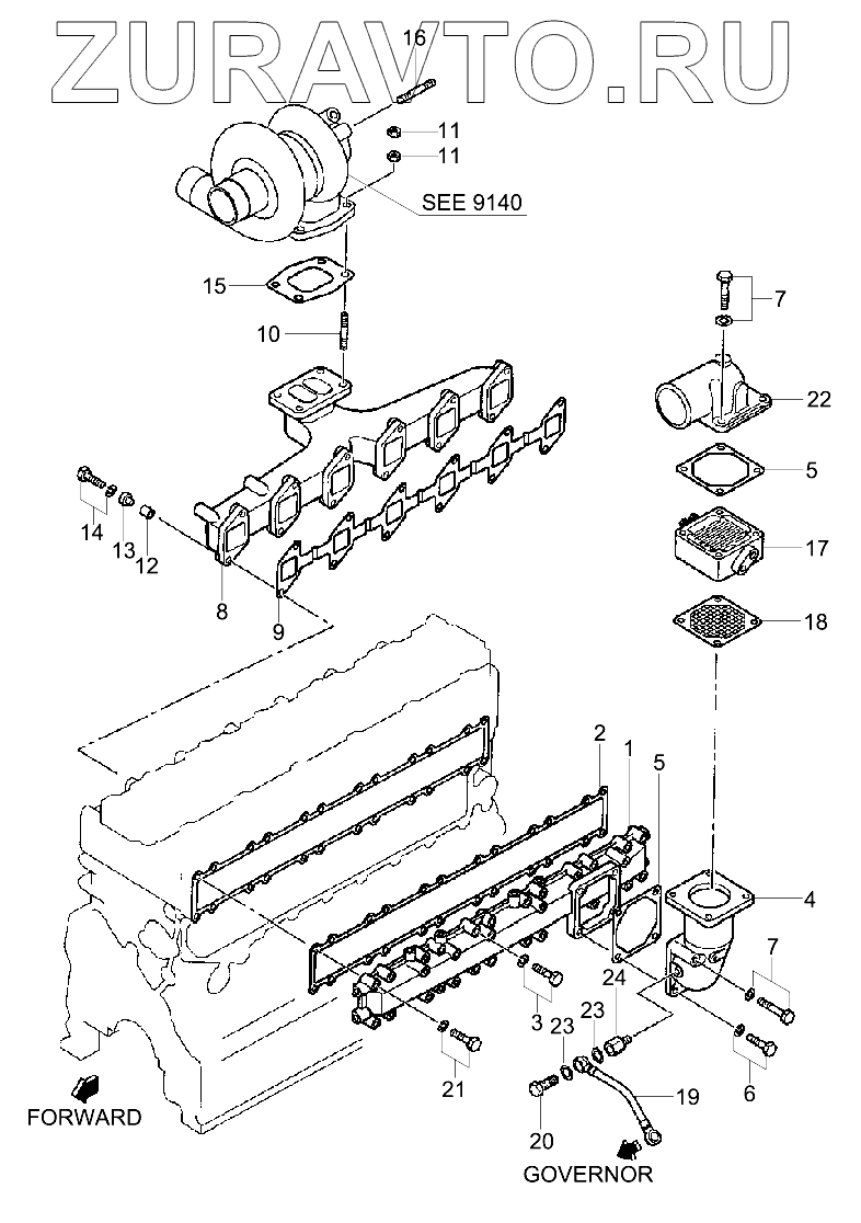
1 32B30-00500 MANIFOLD-INLET Нет в продаже
2 32B30-00201 GASKET-INLET MANF Нет в продаже
3 F1805-08040 BOLT-W/WASHER Нет в продаже
4 32B30-01700 ELBOW-AIR INLET Нет в продаже
5 34330-04300 GASKET-AIR HEATER Нет в продаже
6 F1805-08020 BOLT-W/WASHER Нет в продаже
7 F1805-08065 BOLT-W/WASHER Нет в продаже
8 32B32-00501 MANIFOLD-EXHAUST Нет в продаже
9 32B32-00200 GASKET-EXHAUST MANF Нет в продаже
10 F1450-10030 STUD Нет в продаже
11 32332-00801 NUT-LOCK Нет в продаже
12 32B32-00901 SPACER Нет в продаже
13 34332-21301 WASHER Нет в продаже
14 F1805-08050 BOLT-W/WASHER Нет в продаже
15 36732-04900 GASKET Нет в продаже
16 F1450-10030 STUD Нет в продаже
17 32B66-06200 HEATER-AIR Нет в продаже
18 34330-04200 GASKET Нет в продаже
19 MH032788 HOSE-FLEXIBLE Нет в продаже
20 F4610-10000 BOLT-EYE Нет в продаже
21 F1850-08045 BOLT-W/WASHER Нет в продаже
22 36730-21034 ELBOW-AIR INLET Нет в продаже
23 F4202-10000 GASKET Нет в продаже
24 31B33-00300 CONNECTOR Нет в продаже
1
2
3
4
5
5
6
7
7
8
9
10
11
11
12
13
14
15
16
17
18
19
20
21
22
23
23
24
100%
Содержащиеся в справочниках-каталогах запасные части и детали носят исключительно информационный характер