Оригинальные каталоги
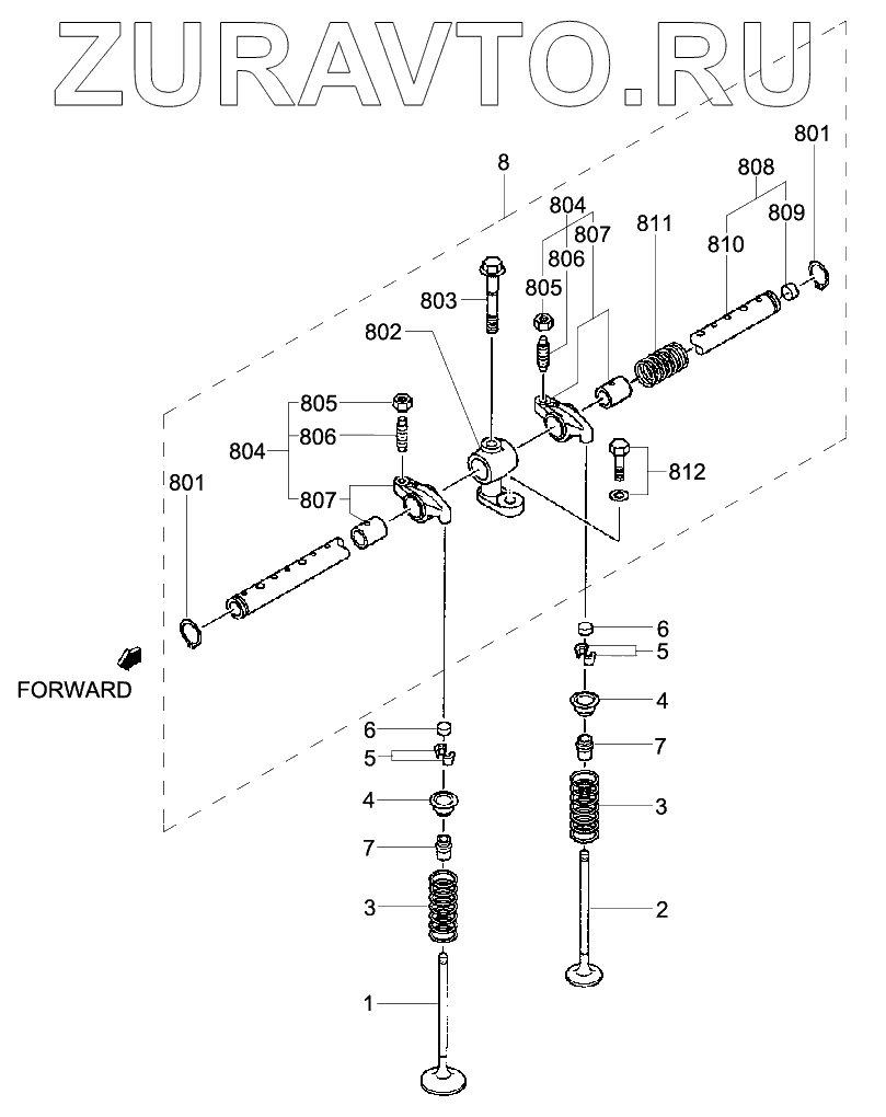
| № | Номер | Наименование | Цена | |
|---|---|---|---|---|
| 1 | 32A04-10101 | VALVE-INLET | Нет в продаже |
|
| 2 | 32A04-11101 | VALVE-EXHAUST | Нет в продаже |
|
| 3 | 30604-21402 | SPRING-VALVE | Нет в продаже |
|
| 4 | 30604-31601 | RETAINER-UPPER | Нет в продаже |
|
| 5 | 34404-02901 | COTTER-VALVE | Нет в продаже |
|
| 6 | 31304-11700 | CAP | Нет в продаже |
|
| 7 | 32A04-02801 | SEAL-VALVE STEM | Нет в продаже |
|
| 8 | ROCKER&SHAFTASSY | ROCKER & SHAFT ASSY | Нет в продаже |
|
| 801 | MF522010 | RING-SNAP | Нет в продаже |
|
| 802 | 32A04-04701 | BRACKET-ROCKER SHAFT | Нет в продаже |
|
| 803 | 32A04-04801 | BOLT-ROCKER SHAFT | Нет в продаже |
|
| 804 | 32A04-22010 | ROCKER ASSY | Нет в продаже |
|
| 805 | F2325-08000 | NUT-JAM | Нет в продаже |
|
| 806 | 32A04-02401 | SCREW-ROCKER | Нет в продаже |
|
| 807 | ROCKER&BUSHING | ROCKER & BUSHING | Нет в продаже |
|
| 808 | 32B04-04011 | SHAFT ASSY-ROCKER | Нет в продаже |
|
| 809 | 04826-21200 | CAP-SEALING | Нет в продаже |
|
| 810 | SHAFT-ROCKER | SHAFT-ROCKER | Нет в продаже |
|
| 811 | 32C04-04501 | SPRING-ROCKER | Нет в продаже |
|
| 812 | F1805-08025 | BOLT-W/WASHER | Нет в продаже |
|
1
2
3
3
4
4
5
5
6
6
7
7
8
801
801
802
803
804
804
805
805
806
806
807
807
808
809
810
811
812
Содержащиеся в справочниках-каталогах запасные части и детали носят исключительно информационный характер