Оригинальные каталоги
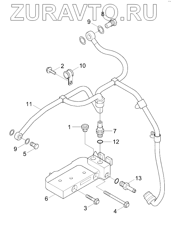
| № | Номер | Наименование | Цена | |
|---|---|---|---|---|
| 1 | 4929619 | Plug-Threaded | Нет в продаже |
|
| 2 | 3913638 | SCREW-HEX F/HEAD CAP | Нет в продаже |
|
| 3 | 3900632 | Болт М8*1,25*35 (Оригинал) 3900632 | Нет в продаже |
|
| 4 | 3902112 | Screw-Hex F/Head Cap | Нет в продаже |
|
| 5 | 3903035 | SCREW | Нет в продаже |
|
| 6 | 3955080 | Connection-Fuel Block | Нет в продаже |
|
| 7 | 3974812 | Coupling-Plain Hose | Нет в продаже |
|
| 8 | 3957290 | Клапан обратки контрольный ISF2.8, 3.8, ISBe ISDe ISLe 3957290 | Нет в продаже |
|
| 9 | 3963990 | Шайба уплотнительная 3963990 | Нет в продаже |
|
| 10 | 68152 | Clip | Нет в продаже |
|
| 11 | 3978505 | Tube-Fuel Drain | Нет в продаже |
|
| 12 | 3963988 | Шайба уплотнительная ISF3.8,ISBe,ISLe (АНАЛОГ) (C) (3935172/3937155) | Нет в продаже |
|
1
2
3
4
5
6
7
8
9
9
10
11
12
Содержащиеся в справочниках-каталогах запасные части и детали носят исключительно информационный характер