Оригинальные каталоги
| № | Номер | Наименование | Цена | |
|---|---|---|---|---|
| 61N6-31360GG | 61N6-31360GG | PLATE-COVER | Нет в продаже |
|
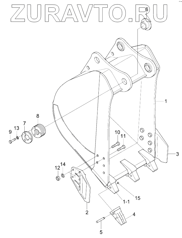
| 61Q6-32000 | 61Q6-32000 | BUCKET ASSY | Нет в продаже |
|
| 1 | 61Q6-32010 | BUCKET WA | Нет в продаже |
|
| 1-1 | 61Q6-31320 | ADAPTER-TOOTH | Нет в продаже |
|
| 2 | 63E1-3533GG | SIDE CUTTER-LH | Нет в продаже |
|
| 3 | 63E1-3534GG | SIDE CUTTER-RH | Нет в продаже |
|
| 4 | 61Q6-31310GG | POINT-TOOTH | Нет в продаже |
|
| 5 | E161-3035 | Pin-Tooth | Нет в продаже |
|
| 6 | 61N6-30600 | BUSHING | Нет в продаже |
|
| 7 | 61N6-31360 | PLATE-COVER | Нет в продаже |
|
| 8 | 61N6-31410 | SHIM | Нет в продаже |
|
| 9 | S017-16045D | BOLT-HEX | Нет в продаже |
|
| 10 | S017-22060D | BOLT-HEX | Нет в продаже |
|
| 11 | S017-22065D | BOLT-HEX | Нет в продаже |
|
| 12 | S205-22100B | NUT-HEX | Нет в продаже |
|
| 13 | S441-160006 | WASHER-HARDENED | Нет в продаже |
|
| 14 | S411-220006 | WASHER-SPRING | Нет в продаже |
|
| 15 | 61E5-11150 | WASHER-LOCK | Нет в продаже |
|
1
1-1
2
3
4
5
6
7
8
9
10
11
12
13
14
15
Содержащиеся в справочниках-каталогах запасные части и детали носят исключительно информационный характер