Оригинальные каталоги
| № | Номер | Наименование | Цена | |
|---|---|---|---|---|
| 3678873 | 3678873 | Plug-Threaded | Нет в продаже |
|
| 3678921 | 3678921 | Пробка резьбовая (Оригинал) 3678921 | Нет в продаже |
|
| 3678923 | 3678923 | Заглушка ГБЦ М10х1х1,35 (Оригинал) 3678923 | Нет в продаже |
|
| 4932333 | 4932333 | Block-Cylinder | Нет в продаже |
|
| 3974157 | 3974157 | Cap-Main Bearing | Нет в продаже |
|
| 3974159 | 3974159 | Cap-Main Bearing | Нет в продаже |
|
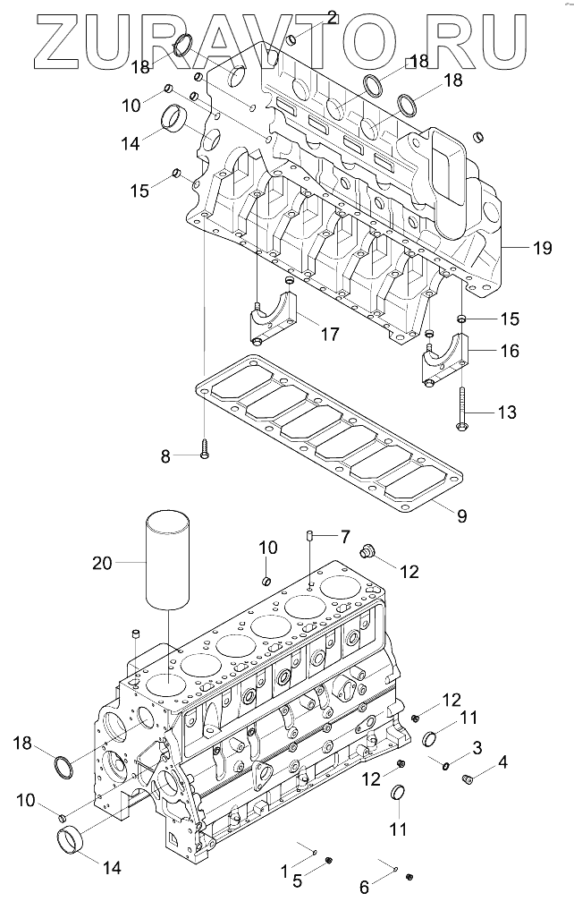
| 1 | 3678786 | SEAL/O-RING | Нет в продаже |
|
| 2 | 3678791 | Plug-Threaded | Нет в продаже |
|
| 3 | 3678912 | Кольцо уплотнительное пробки блока цилиндров ISBe | Нет в продаже |
|
| 4 | 3678922 | PLUG-THREAD | Нет в продаже |
|
| 5 | 3678924 | PLUG-THREAD | Нет в продаже |
|
| 6 | 3678925 | SEAL/O-RING | Нет в продаже |
|
| 7 | 3902343 | Втулка (блок цилиндров) 4/6ISBe, (Оригинал) 3902343 | Нет в продаже |
|
| 8 | 3902460 | SCREW-HEX F/HEAD CAP | Нет в продаже |
|
| 9 | 3965764 | Усилитель блока цилиндров (рамка) 6ISBe (ОРИГИНАЛ) (О+) (4945783/5290910) | Нет в продаже |
|
| 10 | 3900956 | Заглушка ГБЦ блок цилиндров 3900956 | Нет в продаже |
|
| 11 | 3905401 | Заглушка блока цилиндров 3905401 | Нет в продаже |
|
| 12 | 3914035 | Заглушка ГБЦ D 26 (АНАЛОГ) (C) (3007635) | Нет в продаже |
|
| 13 | 3927948 | Болт М12х1,5х120 крышки коренного подшипника, бугеля ISF2.8/3.8,4-6ISBe,ISDe (ОРИГИНАЛ) (О+) (4891353) |
71.4 Р
|
|
| 14 | 3940059 | Втулка распредвала ISF3.8,ISBe,ISDe,6BTA V 5.9 (Dн 59) (АНАЛОГ) (C) (4983253/5298256) |
127.5 Р
|
|
| 15 | 3900068 | Втулка (блок цилиндров) (Оригинал) 3900068 | Нет в продаже |
|
| 18 | 3975796 | Plug-Expansion | Нет в продаже |
|
| 20 | 3904166 | Гильза цилиндра стд. 4-6BTA,ISF3.8,ISBe(V 3.9 5.9) (ОРИГИНАЛ) (O+) (3900396) |
958.8 Р
|
|
| N16 | 3974156 | Cap-Main Bearing | Нет в продаже |
|
| N17 | 3974158 | Cap-Main Bearing | Нет в продаже |
|
| N19 | 4932332 | Block-Cylinder | Нет в продаже |
|
1
2
3
4
5
6
7
8
9
10
10
10
11
11
12
12
12
13
14
14
15
15
18
18
18
18
20
N16
N17
N19
Содержащиеся в справочниках-каталогах запасные части и детали носят исключительно информационный характер