Оригинальные каталоги
| № | Номер | Наименование | Цена | |
|---|---|---|---|---|
| 4899257 | 4899257 | Housing-Rocker Lever | Нет в продаже |
|
| 3937219 | 3937219 | Lever-Rocker | Нет в продаже |
|
| 3937220 | 3937220 | Lever-Rocker | Нет в продаже |
|
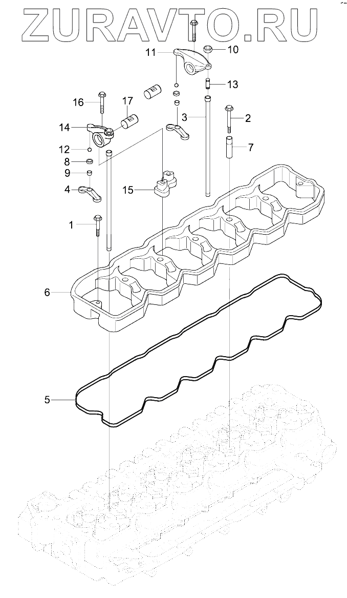
| 1 | 3900633 | Болт М8х1,25х50 (ОРИГИНАЛ) (О+) (3823261) |
20.4 Р
|
|
| 2 | 3903096 | Болт М8*1,25*70 (Оригинал) 3903096 | Нет в продаже |
|
| 3 | 3941253 | Штанга толкателя L=290mm ISBe, ISDe 3941253 | Нет в продаже |
|
| 4 | 3943626 | Перемычка коромысла клапанов (крейцкопф, ползун клапанов) 6ISBe 3943626 | Нет в продаже |
|
| 5 | 4899231 | Прокладка под рамку крышки клапана 6ISBe, 6ISDe, ISBe220 4899231 | Нет в продаже |
|
| 10 | 3927692 | Nut-Heavy Hex | Нет в продаже |
|
| 13 | 3959128 | Screw-R/Lever Adjust | Нет в продаже |
|
| 15 | 3964908 | Support-Rocker Lever | Нет в продаже |
|
| 16 | 3990127 | Болт М8х1,25х55 коромысла ISBe (АНАЛОГ) (C) (3909025) |
20.4 Р
|
|
| 17 | 4928699 | Ось коромысел ISF3.8.ISBe (АНАЛОГ) (C) | Нет в продаже |
|
| N | 4928698 | Коромысло (в сб.на цилиндр) ISBe,ISDe (АНАЛОГ) (C) (4995602) | Нет в продаже |
|
| N | 3942735 | Lever-Rocker | Нет в продаже |
|
| N | 3942734 | Lever-Rocker | Нет в продаже |
|
| N6 | 4899235 | Housing-Rocker Lever | Нет в продаже |
|
| N7 | 4899245 | Sleeve | Нет в продаже |
|
| N8 | 3935945 | Retainer-Socket | Нет в продаже |
|
| N9 | 3935946 | Socket-Rocker Lever | Нет в продаже |
|
| N11 | 3941928 | Коромысло выпускного клапана в сборе ISBe | Нет в продаже |
|
| N12 | 3942730 | Шарик коромысла ISF3.8 (O+) 3942730 | Нет в продаже |
|
| N14 | 3941927 | Коромысло впускного клапана в сборе ISBe | Нет в продаже |
|
1
2
3
4
5
10
13
15
16
17
N6
N7
N8
N9
N11
N12
N14
Содержащиеся в справочниках-каталогах запасные части и детали носят исключительно информационный характер