Оригинальные каталоги
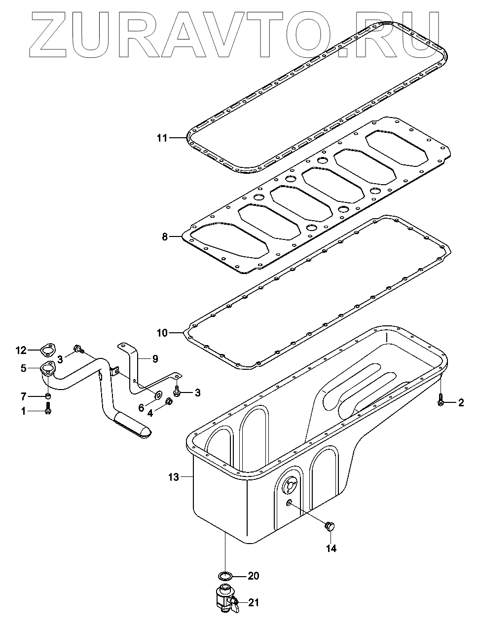
| № | Номер | Наименование | Цена | |
|---|---|---|---|---|
| 1 | 3900628 | Болт крепления форсунки ISBe (Оригинал) 3900628 | Нет в продаже |
|
| 2 | 3900631 | Болт М8*1,25*25 (поддон картера,место установки топливного фильтра, вакуумный насос, форунка ISF2.8, IS 3900631 | Нет в продаже |
|
| 3 | 3901865 | Болт многофункциональный М6х1,00х20 | Нет в продаже |
|
| 4 | 3906216 | NUT-HEX FLANGE | Нет в продаже |
|
| 5 | 3910787 | CONNECTION | Нет в продаже |
|
| 6 | 3910960 | WASHER-PLAIN | Нет в продаже |
|
| 7 | 3926865 | SPACER-MOUNTING | Нет в продаже |
|
| 8 | 3927606 | PLATE-CYL BLOCK STIFFEN | Нет в продаже |
|
| 9 | 3928737 | BRACE-TUBE | Нет в продаже |
|
| 10 | 3930408 | GASKET-OIL PAN | Нет в продаже |
|
| 11 | 3938160 | Прокладка поддона 6CT,ISLe, L 3938160 / 3973509 3938160 | Нет в продаже |
|
| 12 | 3939352 | Прокладка трубки забора масла ISLe | Нет в продаже |
|
| 13 | 4063453 | FAN-OIL | Нет в продаже |
|
| 14 | 4992508 | PLUG-THREADED | Нет в продаже |
|
| 20 | 3093844 | WASHER-SEALING | Нет в продаже |
|
| 21 | 3864441 | VALVE-OIL DRAIN | Нет в продаже |
|
1
2
3
3
4
5
6
7
8
9
10
11
12
13
14
20
21
Содержащиеся в справочниках-каталогах запасные части и детали носят исключительно информационный характер