Оригинальные каталоги
| № | Номер | Наименование | Цена | |
|---|---|---|---|---|
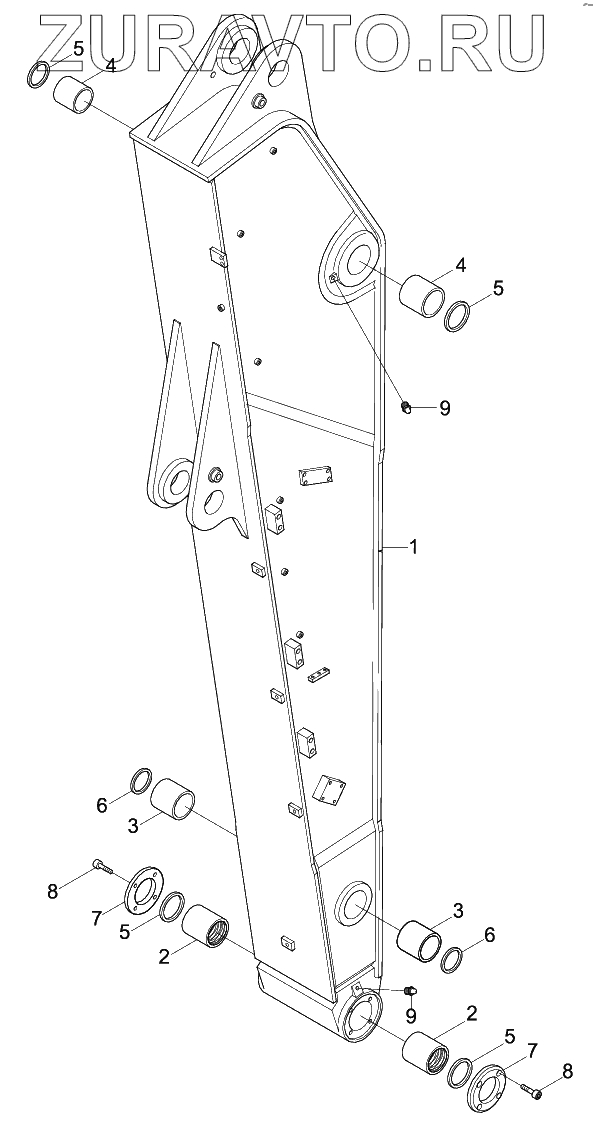
| 61Q9-20400 | 61Q9-20400 | ARM ASSY | Нет в продаже |
|
| 1 | 61Q9-24010 | Arm Wa | Нет в продаже |
|
| 2 | 61Q6-04130 | Bushing | Нет в продаже |
|
| 3 | 61Q6-04070 | BUSHING | Нет в продаже |
|
| 4 | 61QH-83410 | BUSHING | Нет в продаже |
|
| 5 | Y020-100111 | SEAL-DUST,DLI,KPU | Нет в продаже |
|
| 6 | Y020-090111 | SEAL-DUST,DLI,KPU | Нет в продаже |
|
| 7 | 61Q9-21301 | PLATE-COVER | Нет в продаже |
|
| 8 | S109-120256 | BOLT-SOCKET | Нет в продаже |
|
| 9 | S651-810002 | NIPPLE-GREASE | Нет в продаже |
|
1
2
2
3
3
4
4
5
5
5
5
6
6
7
7
8
8
9
9
Содержащиеся в справочниках-каталогах запасные части и детали носят исключительно информационный характер