Оригинальные каталоги
| № | Номер | Наименование | Цена | |
|---|---|---|---|---|
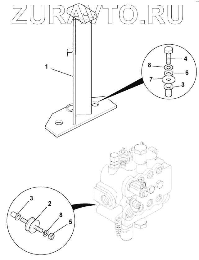
| 335/05064 | 335/05064 | Bracket loader lever mount | Нет в продаже |
|
| 1 | 128/F9823 | Bracket loader lever mount | Нет в продаже |
|
| 2 | 123/03946 | Mounting Rubber | Нет в продаже |
|
| 3 | 826/01249 | Nut Rrivet | Нет в продаже |
|
| 4 | 1315/0410Z | Setscrew | Нет в продаже |
|
| 5 | 1370/0303Z | Nut lock | Нет в продаже |
|
| 6 | 1420/0008Z | Washer | Нет в продаже |
|
| 7 | 929/14907 | Washer | Нет в продаже |
|
| 8 | nolongerfitted | no longer fitted | Нет в продаже |
|
335/05064
1
2
3
3
4
5
6
7
8
8
Содержащиеся в справочниках-каталогах запасные части и детали носят исключительно информационный характер