Оригинальные каталоги
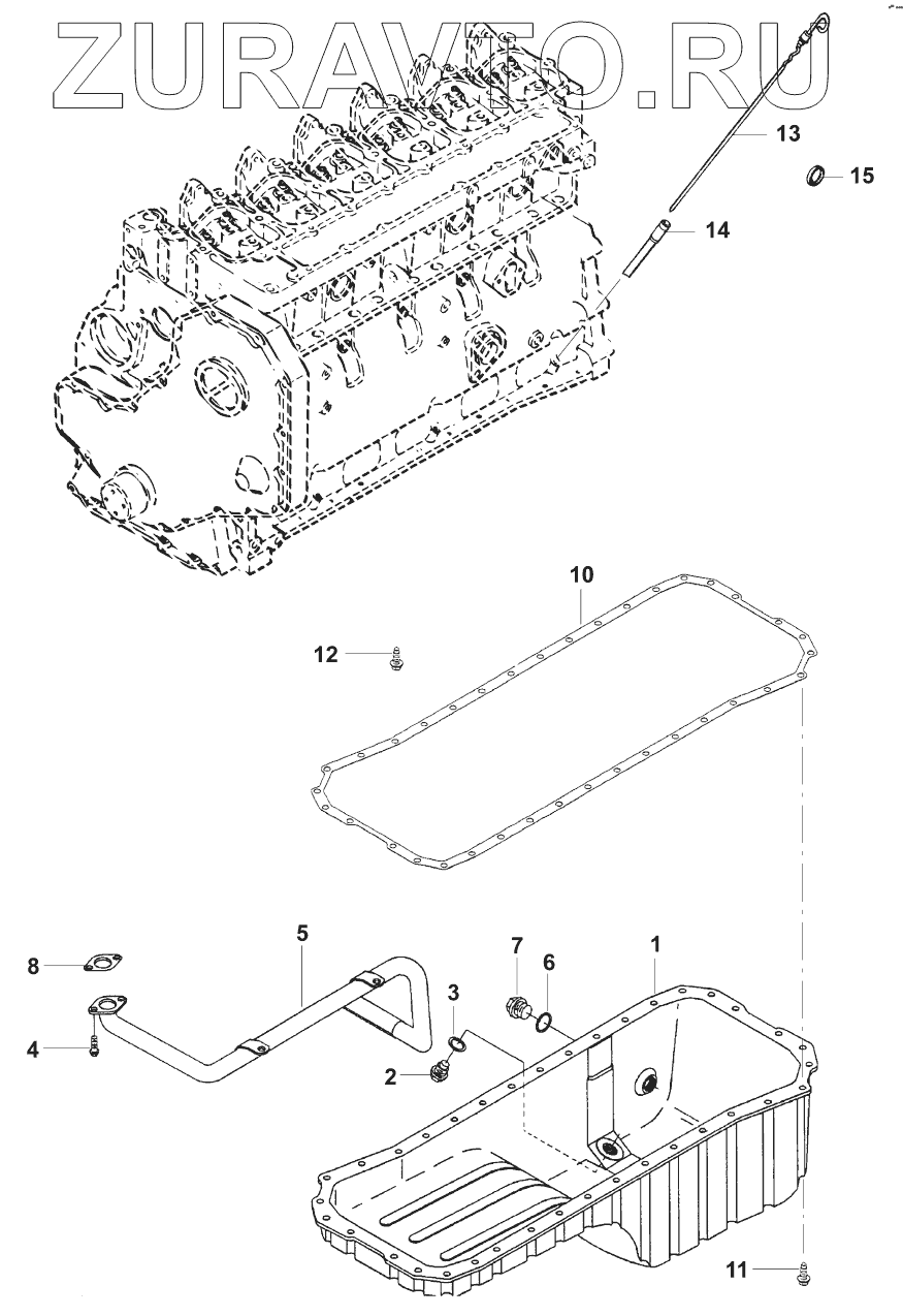
| № | Номер | Наименование | Цена | |
|---|---|---|---|---|
| 1 | 07250/60165 | Oil pan | Нет в продаже |
|
| 2 | 07250/60166 | Plug | Нет в продаже |
|
| 3 | 07250/60167 | Washer | Нет в продаже |
|
| 4 | 04029/70155 | Hexagon screw | Нет в продаже |
|
| 5 | 07250/60168 | Pipe | Нет в продаже |
|
| 6 | 04029/70542 | Washer | Нет в продаже |
|
| 7 | 07250/60170 | Plug | Нет в продаже |
|
| 8 | 07242/50864 | Gasket | Нет в продаже |
|
| 10 | 07242/50846 | Gasket | Нет в продаже |
|
| 11 | 07221/50752 | Screw | Нет в продаже |
|
| 12 | 04029/70155 | Hexagon screw | Нет в продаже |
|
| 13 | 04029/70099 | Oil dipstick | Нет в продаже |
|
| 14 | 07250/60162 | Pipe | Нет в продаже |
|
| 15 | 04029/70163 | Plug | Нет в продаже |
|
1
2
3
4
5
6
7
8
10
11
12
13
14
15
Содержащиеся в справочниках-каталогах запасные части и детали носят исключительно информационный характер