Оригинальные каталоги
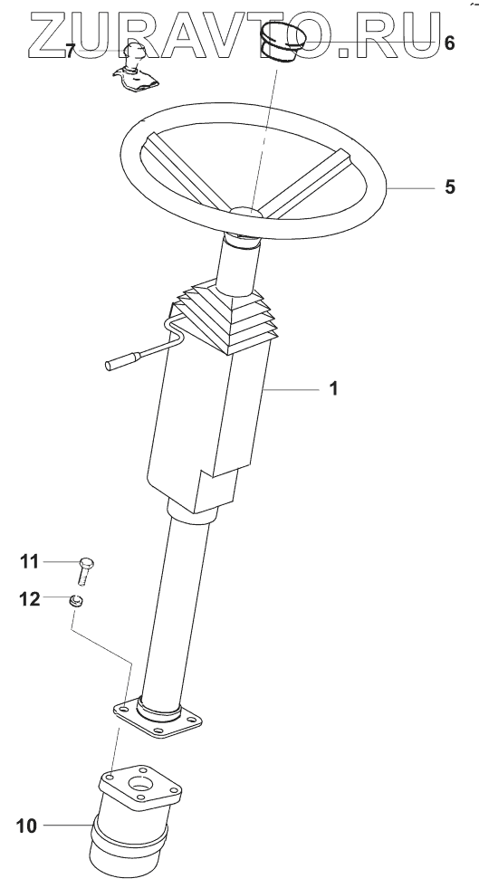
| № | Номер | Наименование | Цена | |
|---|---|---|---|---|
| 1 | 07242/41650 | Steering column | Нет в продаже |
|
| 5 | 04012/54016 | Steering wheel | Нет в продаже |
|
| 6 | 04021/28032 | Cover | Нет в продаже |
|
| 7 | 02746/03010 | Steering wheel spinner knob | Нет в продаже |
|
| 10 | 07240/70012 | Steering unit | Нет в продаже |
|
| 11 | 02021/10025 | Hexagon screw M10x25 DIN933 | Нет в продаже |
|
| 12 | 02209/00010 | Washer | Нет в продаже |
|
| 87242/42240 | 87242/42240 | Steering column, cpl. | Нет в продаже |
|
1
5
6
7
10
11
12
Содержащиеся в справочниках-каталогах запасные части и детали носят исключительно информационный характер