Назад

Оригинальные каталоги

zoom-in zoom-out enlarge shrink circle-right circle-left file-text2 info cart
Номер Наименование Цена
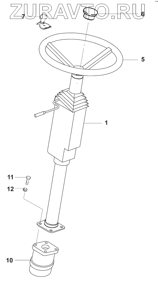
1 07242/41650 Steering column Нет в продаже
5 04012/54016 Steering wheel Нет в продаже
6 04021/28032 Cover Нет в продаже
7 02746/03010 Steering wheel spinner knob Нет в продаже
10 07240/70012 Steering unit Нет в продаже
11 02021/10025 Hexagon screw M10x25 DIN933 Нет в продаже
12 02209/00010 Washer Нет в продаже
87242/42240 87242/42240 Steering column, cpl. Нет в продаже
1
5
6
7
10
11
12
100%
Содержащиеся в справочниках-каталогах запасные части и детали носят исключительно информационный характер