Оригинальные каталоги
| № | Номер | Наименование | Цена | |
|---|---|---|---|---|
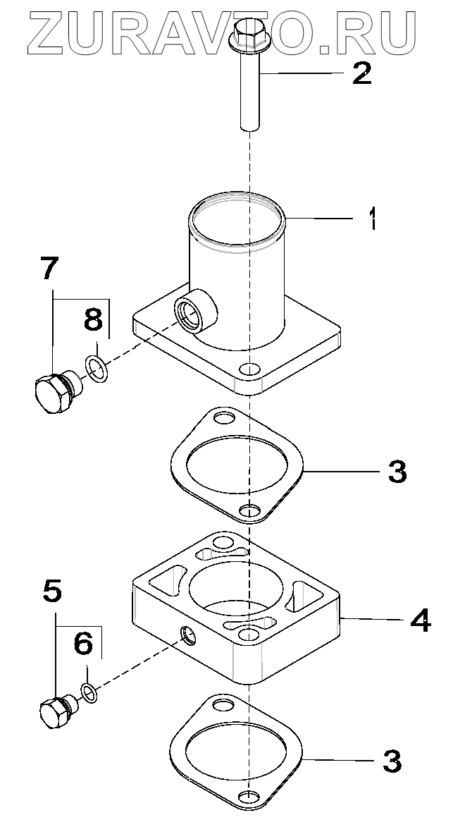
| 1 | RE508742 | Система забора воздуха | Нет в продаже |
|
| 2 | 19M8528 | Винт | Нет в продаже |
|
| 3 | R81275 | Прокладка | Нет в продаже |
|
| 4 | R501472 | Распорная втулка | Нет в продаже |
|
| 5 | RE60071 | Фитинг | Нет в продаже |
|
| 6 | 51M7039 | Уплотнительное кольцо | Нет в продаже |
|
| 7 | RE46684 | Заглушка фитинга | Нет в продаже |
|
| 8 | 51M7041 | Уплотнительное кольцо | Нет в продаже |
|
1
2
3
3
4
5
6
7
8
Содержащиеся в справочниках-каталогах запасные части и детали носят исключительно информационный характер