Оригинальные каталоги
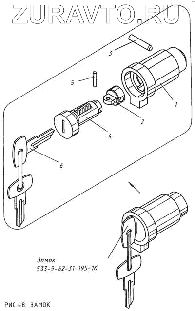
| № | Номер | Наименование | Цена | |
|---|---|---|---|---|
| 1 | 533-0-62-31-197-1К | Корпус | Нет в продаже |
|
| 2 | 533-0-62-31-198-1К | Цилиндр | Нет в продаже |
|
| 3 | Штифт 2.4 u8Х20.К.207...256НВ ОСТЗ-2234- | Штифт 2.4 u8Х20.К.207...256НВ ОСТЗ-2234-93 | Нет в продаже |
|
| 4 | Цилиндр выключателя замка в сборе 31011- | Цилиндр выключателя замка в сборе 31011-6105420 | Нет в продаже |
|
| 5 | Штифт 2.2 u8Х10.К.207...256НВ ОСТ 3-2234 | Штифт 2.2 u8Х10.К.207...256НВ ОСТ 3-2234-93 | Нет в продаже |
|
| 6 | Ключи с кольцом в сборе 3102-6105548 | Ключи с кольцом в сборе 3102-6105548 | Нет в продаже |
|
1
2
3
4
5
6
Содержащиеся в справочниках-каталогах запасные части и детали носят исключительно информационный характер