Оригинальные каталоги
| № | Номер | Наименование | Цена | |
|---|---|---|---|---|
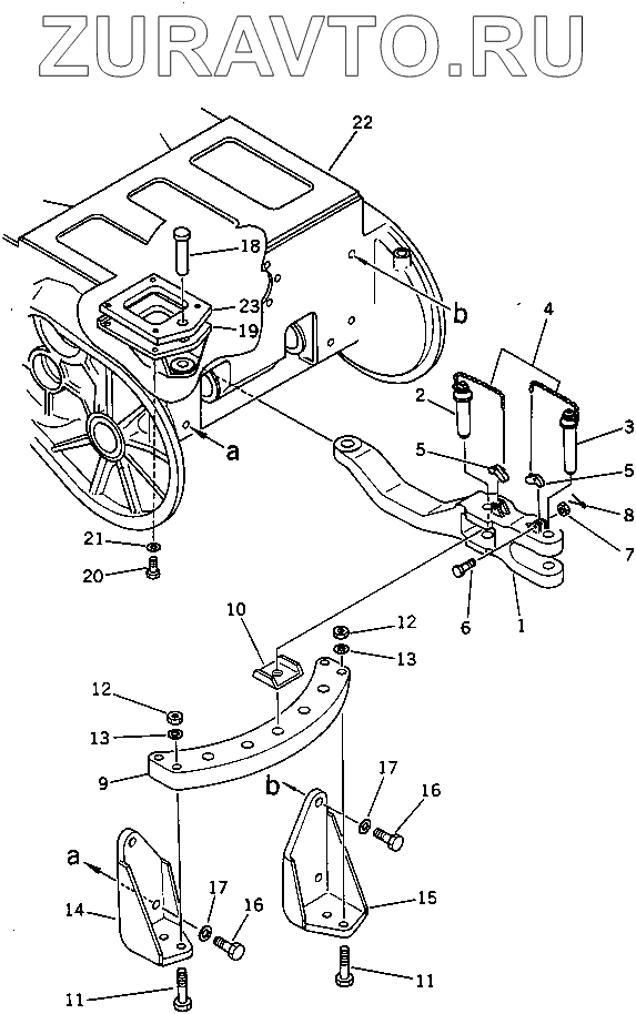
| 154-21-41300 | 154-21-41300 | CASE FRAME ASS'Y | Нет в продаже |
|
| 1 | 154-69-11111 | DRAWBAR | Нет в продаже |
|
| 2 | 154-69-11181 | PIN | Нет в продаже |
|
| 3 | 154-69-11240 | PIN | Нет в продаже |
|
| 4 | 09245-24836 | CHAIN | Нет в продаже |
|
| 5 | 09249-10016 | LATCH | Нет в продаже |
|
| 6 | 01052-51675 | BOLT | Нет в продаже |
|
| 7 | 01592-11619 | NUT | Нет в продаже |
|
| 8 | 04050-14030 | PIN, COTTER | Нет в продаже |
|
| 9 | 154-69-11171 | PLATE | Нет в продаже |
|
| 10 | 175-819-2230 | WASHER | Нет в продаже |
|
| 11 | 01011-83350 | BOLT | Нет в продаже |
|
| 12 | 01580-13326 | NUT | Нет в продаже |
|
| 13 | 01643-33380 | WASHER | Нет в продаже |
|
| 14 | 154-69-11151 | BRACKET,L.H. | Нет в продаже |
|
| 15 | 154-69-11161 | BRACKET,R.H. | Нет в продаже |
|
| 16 | 01010-83385 | BOLT | Нет в продаже |
|
| 17 | 01643-33380 | WASHER | Нет в продаже |
|
| 18 | 154-69-11132 | PIN | Нет в продаже |
|
| 19 | 154-69-11123 | BRACKET | Нет в продаже |
|
| 20 | 01011-63070 | BOLT | Нет в продаже |
|
| 21 | 01643-33080 | WASHER | Нет в продаже |
|
| 22 | 154-69-11232 | CASE | Нет в продаже |
|
| 23 | 154-69-11194 | SEAT (WELDED) | Нет в продаже |
|
1
2
3
4
5
5
6
7
8
9
10
11
11
12
12
13
13
14
15
16
16
17
17
18
19
20
21
22
23
Содержащиеся в справочниках-каталогах запасные части и детали носят исключительно информационный характер