Оригинальные каталоги
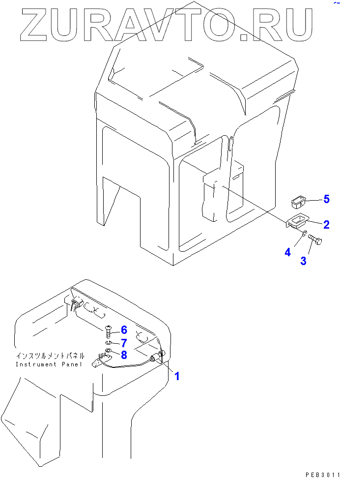
| № | Номер | Наименование | Цена | |
|---|---|---|---|---|
| 1 | 195-822-6151 | LIGHTER | Нет в продаже |
|
| 2 | 176-57-41130 | CASE | Нет в продаже |
|
| 3 | 01010-81018 | BOLT | Нет в продаже |
|
| 4 | 01602-01030 | WASHER, SPRING | Нет в продаже |
|
| 5 | 566-06-16410 | ASHTRAY | Нет в продаже |
|
| 6 | 01220-40410 | SCREW | Нет в продаже |
|
| 7 | 01601-20410 | WASHER, SPRING | Нет в продаже |
|
| 8 | 01641-20405 | WASHER | Нет в продаже |
|
1
2
3
4
5
6
7
8
Содержащиеся в справочниках-каталогах запасные части и детали носят исключительно информационный характер