Оригинальные каталоги
| № | Номер | Наименование | Цена | |
|---|---|---|---|---|
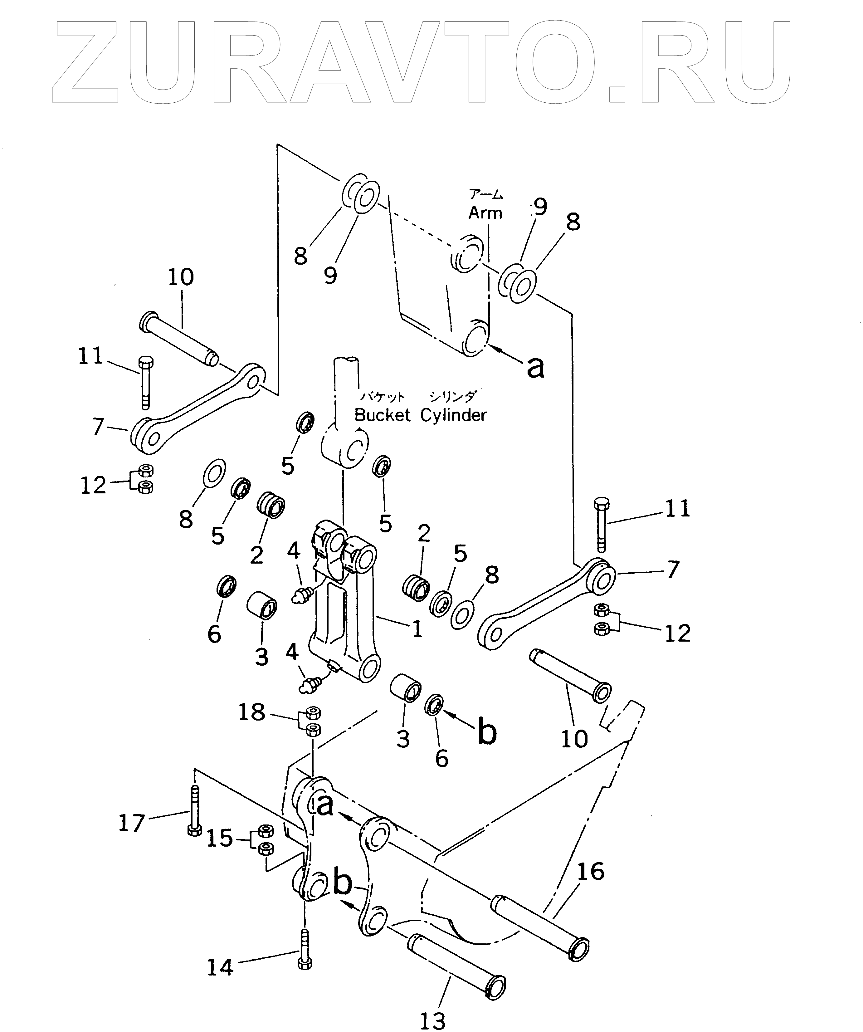
| 20Y-70-00070 | 20Y-70-00070 | LINK ASS'Y | Нет в продаже |
|
| 20Y-70-00181 | 20Y-70-00181 | LINK ASS'Y | Нет в продаже |
|
| 1 | LINK | LINK | Нет в продаже |
|
| 1 | LINK | LINK | Нет в продаже |
|
| 2 | 205-70-73180 | BUSHING | Нет в продаже |
|
| 3 | 205-70-67150 | BUSHING | Нет в продаже |
|
| 4 | 07020-00000 | FITTING, GREASE | Нет в продаже |
|
| 5 | 20Y-70-23220 | SEAL | Нет в продаже |
|
| 5 | 21K-70-12180 | SEAL | Нет в продаже |
|
| 6 | 20Y-70-23230 | SEAL | Нет в продаже |
|
| 6 | 205-70-62140 | SEAL | Нет в продаже |
|
| 7 | 205-70-73130 | LINK | Нет в продаже |
|
| 8 | 20Y-70-11320 | SPACER¤ 0.8MM | Нет в продаже |
|
| 9 | 20Y-70-11330 | SPACER¤ 1.5MM | Нет в продаже |
|
| 10 | 205-70-73160 | PIN | Нет в продаже |
|
| 11 | 205-70-73190 | BOLT | Нет в продаже |
|
| 12 | 01580-12016 | NUT | Нет в продаже |
|
| 13 | 205-70-73270 | PIN | Нет в продаже |
|
| 14 | 205-70-73190 | BOLT | Нет в продаже |
|
| 15 | 01580-12016 | NUT | Нет в продаже |
|
| 16 | 205-70-73270 | PIN | Нет в продаже |
|
| 17 | 362-46-11210 | BOLT | Нет в продаже |
|
| 18 | 01580-12016 | NUT | Нет в продаже |
|
1
1
2
2
3
3
4
4
5
5
5
5
5
6
6
6
7
7
8
8
8
8
9
9
10
10
11
11
12
12
13
14
15
16
17
18
Содержащиеся в справочниках-каталогах запасные части и детали носят исключительно информационный характер