Оригинальные каталоги
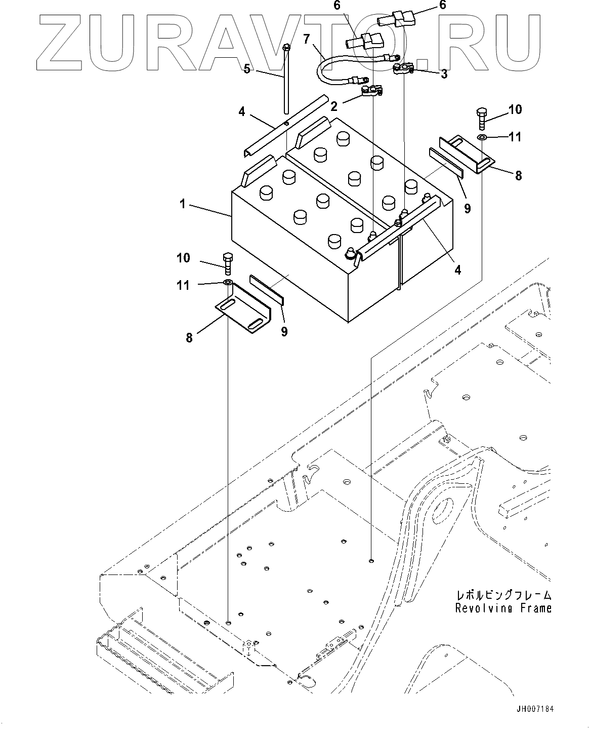
| № | Номер | Наименование | Цена | |
|---|---|---|---|---|
| 1 | 08000-3222Z | BATTERY, WET(195G51) | Нет в продаже |
|
| 2 | 08000-00000 | TERMINAL | Нет в продаже |
|
| 3 | 08000-00001 | TERMINAL | Нет в продаже |
|
| 4 | 205-06-51380 | CLAMP | Нет в продаже |
|
| 5 | 202-09-11120 | BOLT | Нет в продаже |
|
| 6 | 08038-42511 | CAP | Нет в продаже |
|
| 7 | 08028-63035 | WIRE | Нет в продаже |
|
| 8 | 207-06-61461 | BRACKET | Нет в продаже |
|
| 9 | 207-06-51330 | SHEET | Нет в продаже |
|
| 10 | 01010-81225 | BOLT | Нет в продаже |
|
| 11 | 175-54-34170 | WASHER | Нет в продаже |
|
1
2
3
4
4
5
7
8
8
9
9
10
10
11
11
Содержащиеся в справочниках-каталогах запасные части и детали носят исключительно информационный характер