Назад

Оригинальные каталоги

zoom-in zoom-out enlarge shrink circle-right circle-left file-text2 info cart
Номер Наименование Цена
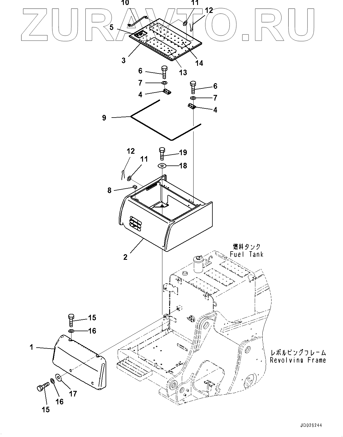
20Y-54-74182 20Y-54-74182 Lock Assembly Нет в продаже
1 20Y-54-74143 Cover Нет в продаже
2 20Y-54-76640 Cover Нет в продаже
3 20Y-54-74133 Cover Нет в продаже
4 20Y-54-74161 Hinge, Welded Нет в продаже
5 20Y-54-74172 Lock, Welded Нет в продаже
6 01010-81020 BOLT Нет в продаже
7 01643-31032 WASHER Нет в продаже
8 20Y-54-29680 SHEET Нет в продаже
9 20Y-54-29660 SEAL Нет в продаже
10 203-54-56630 ROD Нет в продаже
11 01643-30623 WASHER Нет в продаже
12 04050-11612 PIN, COTTER Нет в продаже
13 20Y-00-42140 Plate Нет в продаже
14 209-00-41550 Plate Нет в продаже
15 01010-81230 BOLT Нет в продаже
16 01643-31232 WASHER Нет в продаже
17 20Y-54-19930 COLLAR Нет в продаже
18 175-54-34170 WASHER Нет в продаже
19 01010-81230 BOLT Нет в продаже
1
2
3
4
4
5
6
6
7
7
8
9
11
12
12
13
14
15
15
16
16
17
18
19
100%
Содержащиеся в справочниках-каталогах запасные части и детали носят исключительно информационный характер