Оригинальные каталоги
| № | Номер | Наименование | Цена | |
|---|---|---|---|---|
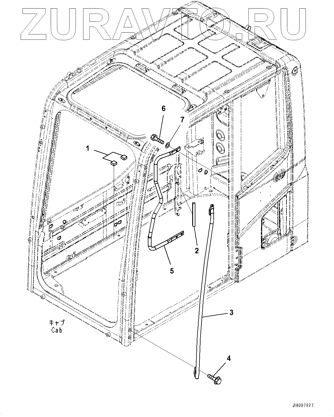
| 20Y-53-01022 | 20Y-53-01022 | Cab Assembly | Нет в продаже |
|
| 20Y-53-01021 | 20Y-53-01021 | Cab Assembly | Нет в продаже |
|
| 1 | 20Y-53-13490 | Rubber | Нет в продаже |
|
| 2 | 2A5-53-11870 | Seal | Нет в продаже |
|
| 3 | 20Y-53-11821 | Grip | Нет в продаже |
|
| 4 | 01435-40825 | BOLT | Нет в продаже |
|
| 5 | 2A5-53-13140 | Grip | Нет в продаже |
|
| 6 | 01010-D1030 | BOLT | Нет в продаже |
|
| 7 | 01643-71032 | WASHER | Нет в продаже |
|
1
2
3
4
5
6
7
Содержащиеся в справочниках-каталогах запасные части и детали носят исключительно информационный характер