Оригинальные каталоги
| № | Номер | Наименование | Цена | |
|---|---|---|---|---|
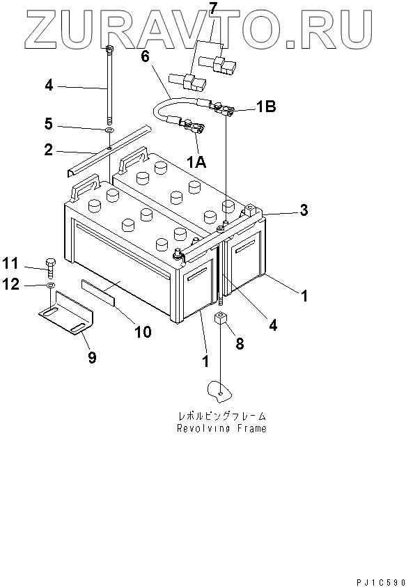
| 1 | 08000-3222Y | BATTERY, WET(170F51) | Нет в продаже |
|
| 1 | 22U-06-21210 | BATTERY, WET(170F51) | Нет в продаже |
|
| 1 | 08000-3222Y | BATTERY, WET(170F51) | Нет в продаже |
|
| 1 | 22U-06-21210 | BATTERY, WET(170F51) | Нет в продаже |
|
| 1A | 08000-00000 | TERMINAL | Нет в продаже |
|
| 1B | 08000-00001 | TERMINAL | Нет в продаже |
|
| 2 | 205-06-51380 | CLAMP | Нет в продаже |
|
| 3 | 207-06-51470 | CLAMP | Нет в продаже |
|
| 4 | 207-06-11370 | BOLT | Нет в продаже |
|
| 5 | 01643-31232 | WASHER | Нет в продаже |
|
| 6 | 08028-64035 | CABLE, BATTERY | Нет в продаже |
|
| 7 | 08038-42511 | CAP | Нет в продаже |
|
| 8 | 207-06-51461 | BLOCK | Нет в продаже |
|
| 9 | 207-06-61461 | BRACKET | Нет в продаже |
|
| 10 | 207-06-51330 | SHEET | Нет в продаже |
|
| 11 | 01010-81225 | BOLT | Нет в продаже |
|
| 12 | 175-54-34170 | WASHER | Нет в продаже |
|
1
1
1
1
1
1
1
1
1A
1B
2
3
4
4
5
6
8
9
10
Содержащиеся в справочниках-каталогах запасные части и детали носят исключительно информационный характер