Назад

Оригинальные каталоги

zoom-in zoom-out enlarge shrink circle-right circle-left file-text2 info cart
Номер Наименование Цена
Shim, T=1.0mm Shim, T=1.0mm Shim, T=1.0mm Нет в продаже
Shim, T=0.5mm Shim, T=0.5mm Shim, T=0.5mm Нет в продаже
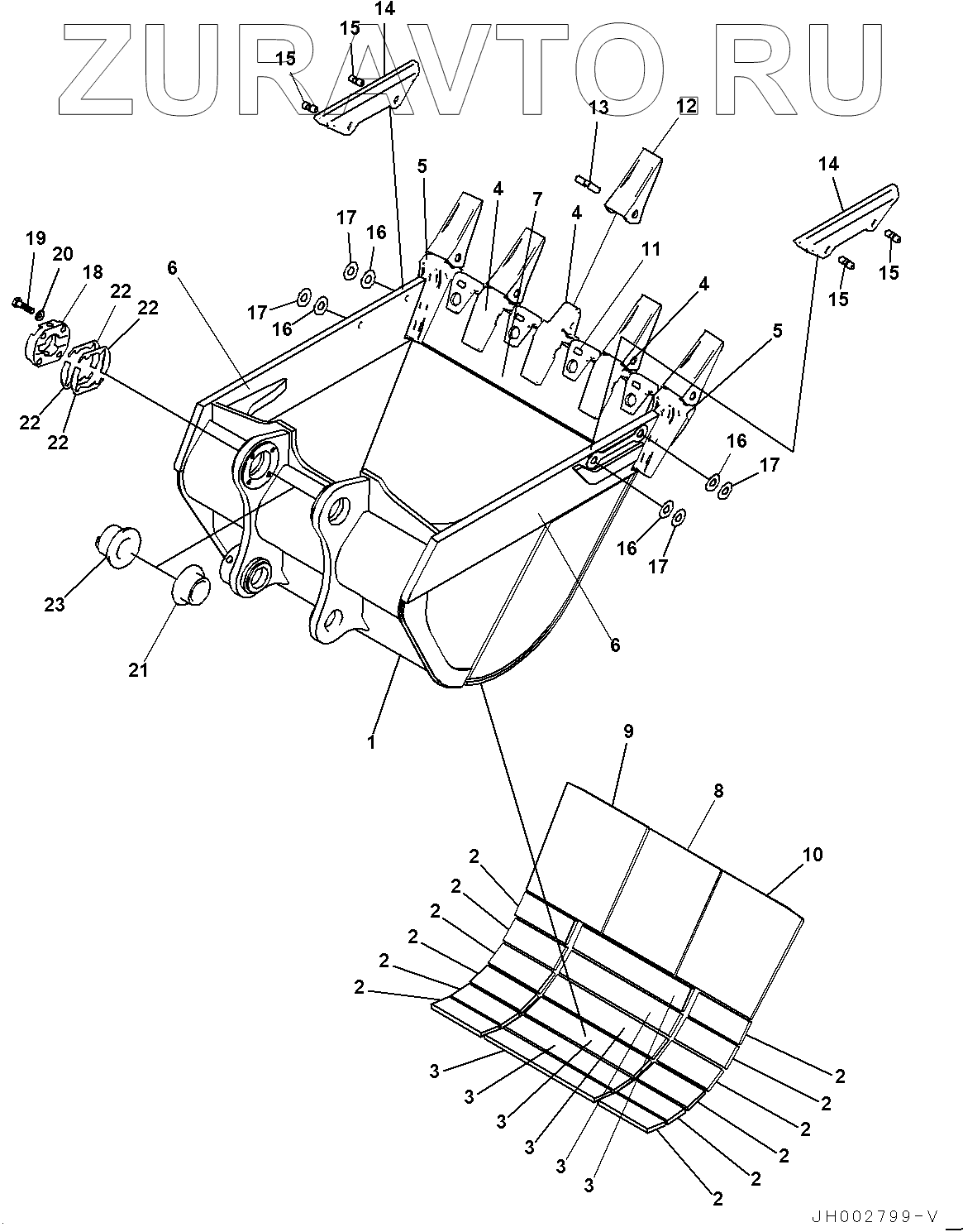
1 207-934-7511 Bucket Нет в продаже
2 207-934-6160 PLATE (WELDED) Нет в продаже
3 207-934-6170 PLATE (WELDED) Нет в продаже
4 207-934-7120 ADAPTER (WELDED) Нет в продаже
5 207-934-7181 ADAPTER (WELDED) Нет в продаже
6 207-934-7530 Plate, Welded Нет в продаже
7 207-934-7550 Plate, Welded Нет в продаже
8 207-934-7G50 Plate, Welded Нет в продаже
9 207-934-7G60 Plate, Welded Нет в продаже
10 207-934-7G70 Plate, Welded Нет в продаже
11 208-934-5170 SHROUD (WELDED) Нет в продаже
12 207-70-14280 TOOTH Нет в продаже
13 09244-02516 PIN Нет в продаже
14 208-934-7132 Guard Нет в продаже
15 113-78-21170 PIN Нет в продаже
16 209-939-7110 SHIM, 1.0MM Нет в продаже
17 209-939-7120 SHIM, 0.5MM Нет в продаже
18 207-70-34240 COVER Нет в продаже
19 01010-62065 BOLT Нет в продаже
20 01643-32060 WASHER Нет в продаже
21 207-70-72470 BUSHING Нет в продаже
22 207-70-00061 SHIM ASS'Y Нет в продаже
23 207-70-34230 BUSHING Нет в продаже
1
2
2
2
2
2
2
2
2
2
2
2
2
3
3
3
3
3
3
4
4
4
5
5
6
6
7
8
9
10
11
12
13
14
15
15
15
15
16
16
16
16
17
17
17
17
18
19
20
21
22
22
22
22
23
100%
Содержащиеся в справочниках-каталогах запасные части и детали носят исключительно информационный характер