Оригинальные каталоги
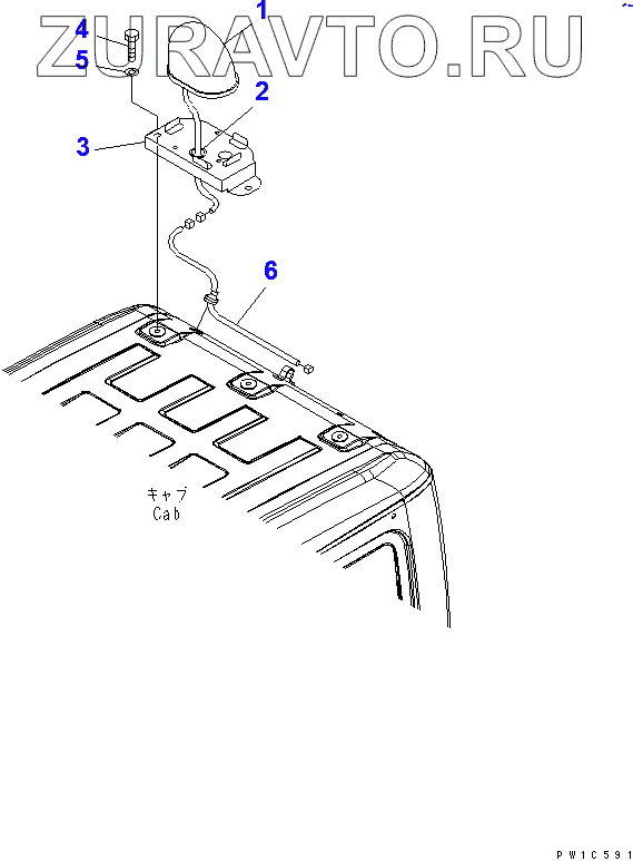
| № | Номер | Наименование | Цена | |
|---|---|---|---|---|
| 22B-54-17660 | 22B-54-17660 | BULB | Нет в продаже |
|
| 1 | 22B-54-17612 | LAMP,BEACON | Нет в продаже |
|
| 2 | 08037-02512 | GROMMET | Нет в продаже |
|
| 3 | 20Y-54-51782 | BRACKET | Нет в продаже |
|
| 4 | 01010-D1220 | BOLT | Нет в продаже |
|
| 5 | 01643-71232 | WASHER | Нет в продаже |
|
| 6 | 22B-54-17640 | WIRING HARNESS | Нет в продаже |
|
2
3
4
5
6
Содержащиеся в справочниках-каталогах запасные части и детали носят исключительно информационный характер