Оригинальные каталоги
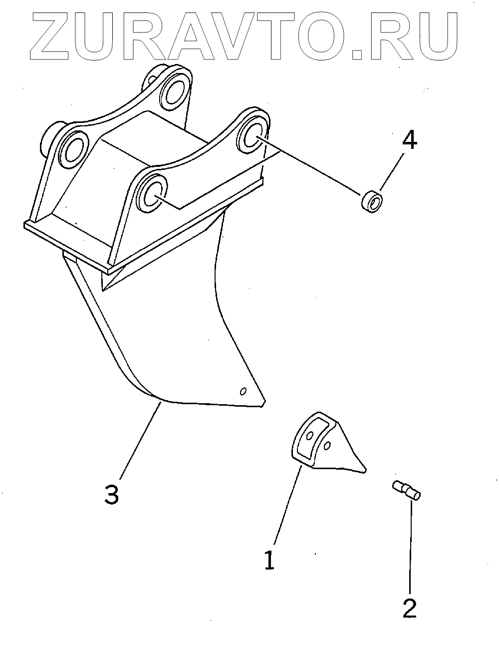
| № | Номер | Наименование | Цена | |
|---|---|---|---|---|
| 208-950-0010 | 208-950-0010 | RIPPER ASS'Y | Нет в продаже |
|
| 1 | 195-78-21331 | POINT | Нет в продаже |
|
| 2 | 09244-02508 | PIN | Нет в продаже |
|
| 3 | RIPPER | RIPPER | Нет в продаже |
|
| 4 | 208-70-34270 | COLLAR | Нет в продаже |
|
1
2
3
4
Содержащиеся в справочниках-каталогах запасные части и детали носят исключительно информационный характер