Оригинальные каталоги
| № | Номер | Наименование | Цена | |
|---|---|---|---|---|
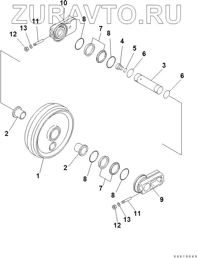
| 208-30-00202 | 208-30-00202 | FRONT IDLER ASS'Y | Нет в продаже |
|
| 208-30-00201 | 208-30-00201 | FRONT IDLER ASS'Y | Нет в продаже |
|
| 21T-30-00110 | 21T-30-00110 | FLOATING SEAL ASS'Y | Нет в продаже |
|
| 1 | 208-30-53114 | IDLER | Нет в продаже |
|
| 1 | 208-30-53112 | IDLER | Нет в продаже |
|
| 2 | 208-30-11560 | BUSHING | Нет в продаже |
|
| 3 | 208-30-53130 | SHAFT | Нет в продаже |
|
| 4 | 07040-13618 | PLUG | Нет в продаже |
|
| 5 | 07002-13634 | O-RING | Нет в продаже |
|
| 6 | 07000-12090 | O-RING | Нет в продаже |
|
| 7 | RING | RING | Нет в продаже |
|
| 8 | O-RING | O-RING | Нет в продаже |
|
| 9 | 208-30-53150 | SUPPORT | Нет в продаже |
|
| 10 | 208-30-53160 | SUPPORT | Нет в продаже |
|
| 11 | 170-30-13331 | BOLT | Нет в продаже |
|
| 12 | 01580-11613 | NUT | Нет в продаже |
|
| 13 | 01643-31645 | WASHER | Нет в продаже |
|
1
1
2
2
3
4
5
6
6
7
7
8
8
8
8
9
11
11
12
12
13
13
Содержащиеся в справочниках-каталогах запасные части и детали носят исключительно информационный характер