Назад

Оригинальные каталоги

zoom-in zoom-out enlarge shrink circle-right circle-left file-text2 info cart
Номер Наименование Цена
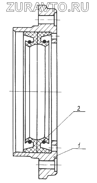
7427-1802193 7427-1802193 Корпус Нет в продаже
1 7427-1802209 Корпус Нет в продаже
2 537-2001026 Сальник Нет в продаже
1
2
100%
Содержащиеся в справочниках-каталогах запасные части и детали носят исключительно информационный характер