Оригинальные каталоги
| № | Номер | Наименование | Цена | |
|---|---|---|---|---|
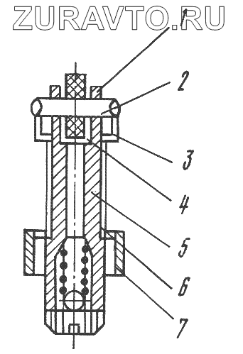
| 537-2402438-10 | 537-2402438-10 | Плунжер | Нет в продаже |
|
| 1 | 375446-П | Шайба 6 | Нет в продаже |
|
| 2 | 537-2402482 | Ось | Нет в продаже |
|
| 3 | 537-2402486 | Тарелка | Нет в продаже |
|
| 4 | П27 | Подшипник ГОСТ8338-75 | Нет в продаже |
|
| 5 | 537-2402490 | Плунжер с клапаном | Нет в продаже |
|
| 6 | 537-2402442-Б | Пружина | Нет в продаже |
|
| 7 | 537-2402484-А | Фиксатор | Нет в продаже |
|
1
2
3
4
5
6
7
Содержащиеся в справочниках-каталогах запасные части и детали носят исключительно информационный характер