- Каталоги запчастей к технике
- Спецтехника
- LIEBHERR
- LRS 645
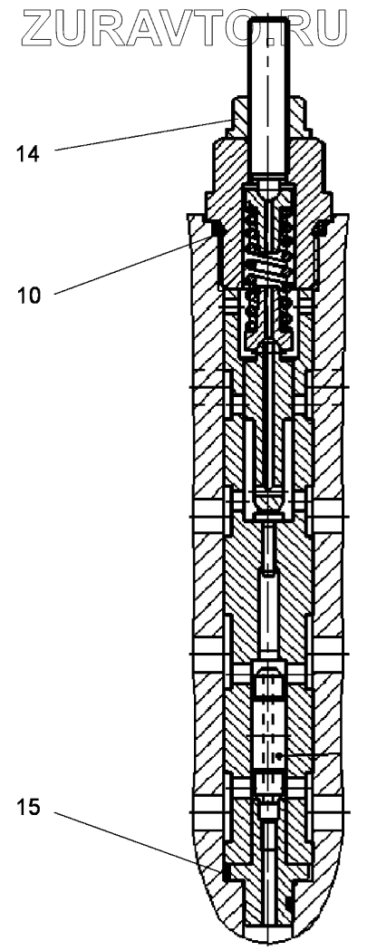
- SHUTDOWN VALVE
| № |
Номер |
Наименование |
Цена |
|
|
10 |
726430114
|
O-RING |
Нет в продаже
|
|
|
14 |
7361601
|
COLLAR NUT |
Нет в продаже
|
|
|
15 |
511421714
|
O-RING |
Нет в продаже
|
|
10
14
15
Содержащиеся в справочниках-каталогах запасные части и детали носят исключительно информационный характер