Оригинальные каталоги
| № | Номер | Наименование | Цена | |
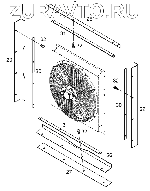
|---|---|---|---|---|
| 25 | 94 00 906 | RUBBER PLATE | Нет в продаже |
|
| 26 | 94 00 912 | DEFLECTOR | Нет в продаже |
|
| 27 | 94 00 907 | RUBBER PLATE | Нет в продаже |
|
| 29 | 94 00 908 | RUBBER PLATE | Нет в продаже |
|
| 30 | 94 00 911 | STRIP | Нет в продаже |
|
| 31 | 94 00 910 | STRIP | Нет в продаже |
|
| 32 | 49 00 089 | HEX BOLT ISO 4017 M8x20 8.8 A2C | Нет в продаже |
|
25
26
27
29
29
30
30
31
31
32
32
32
32
Содержащиеся в справочниках-каталогах запасные части и детали носят исключительно информационный характер